专利数据库
统计分析
产业报告
专利数据监控
产业人才
行业动态
产业政策法规
维权援助
个人中心
详情
文本
图像
标题
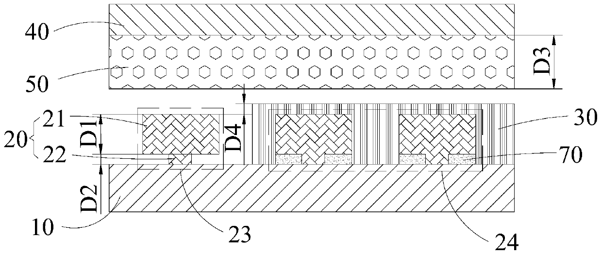
微发光二极管的生长和转运设备及转运方法
授权日
2020-01-31
公开(公告)号
CN107644927B
申请日
2017-10-20
公开(公告)日
2020-01-31
当前申请(专利权)人
上海天马微电子有限公司
发明人
高超民 | 丁渊 | 李飞
简单同族
CN107644927A | CN107644927B
简单同族成员数量
2
简单同族被引用专利总数
0
诉讼案件数
0
法律状态/事件
授权
抱歉,您的浏览器不支持PDF预览,请点击链接下载PDF文件