专利数据库
统计分析
产业报告
专利数据监控
产业人才
行业动态
产业政策法规
维权援助
个人中心
详情
文本
图像
标题
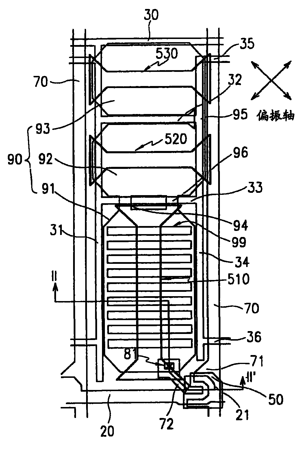
用于液晶显示器的薄膜晶体管阵列板
授权日
2012-07-18
公开(公告)号
CN1491371B
申请日
2002-06-11
公开(公告)日
2012-07-18
当前申请(专利权)人
三星显示有限公司
发明人
宋长根
简单同族
AU2002306059A1 | CN101487964A | CN101487964B | CN101893800A | CN101893800B | CN1491371A | CN1491371B | EP1446697A1 | EP1446697A4 | EP2241930A2 | EP2241930A3 | JP2003186038A | JP2003186038A5 | JP2009122714A | JP2010231244A | JP4589595B2 | JP5372858B2 | KR1020030042221A | TWI240103B | US20030095223A1 | US20080018844A1 | US20100265423A1 | US20130021547A1 | US7460191 | US8031286 | US8248566 | WO2003044592A1
简单同族成员数量
27
简单同族被引用专利总数
137
诉讼案件数
0
法律状态/事件
授权 | 复审 | 权利转移
抱歉,您的浏览器不支持PDF预览,请点击链接下载PDF文件