专利数据库
统计分析
产业报告
专利数据监控
产业人才
行业动态
产业政策法规
维权援助
个人中心
详情
文本
图像
标题
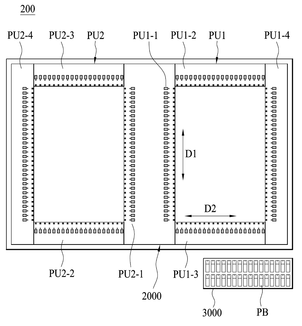
디스플레이 패널 검사를 위한 프로브 블록 조립체, 이의 제어 방법 및 디스플레이 패널 검사 장치
授权日
2020-03-31
公开(公告)号
KR102097455B1
申请日
2019-07-01
公开(公告)日
2020-04-07
当前申请(专利权)人
우리마이크론(주)
发明人
박노선
简单同族
KR102097455B1
简单同族成员数量
1
简单同族被引用专利总数
0
诉讼案件数
0
法律状态/事件
授权
抱歉,您的浏览器不支持PDF预览,请点击链接下载PDF文件