专利数据库
统计分析
产业报告
专利数据监控
产业人才
行业动态
产业政策法规
维权援助
个人中心
详情
文本
图像
标题
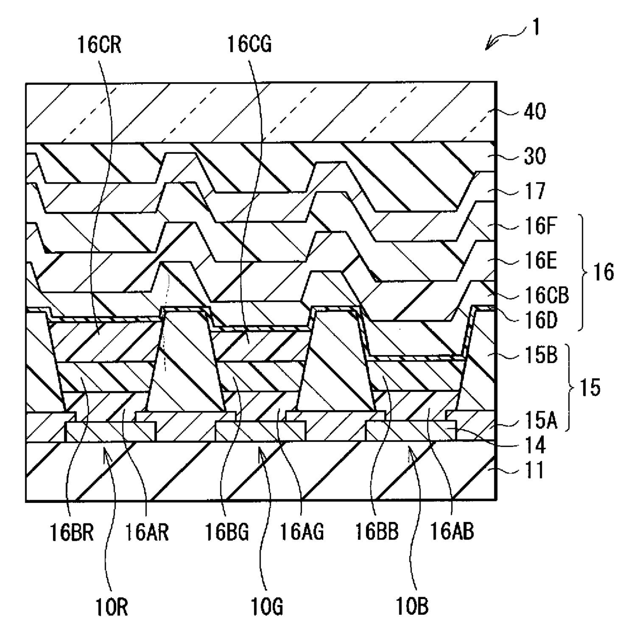
유기 EL 표시 장치 및 그 제조 방법
授权日
1900-01-01
公开(公告)号
KR1020120100741A
申请日
2012-02-21
公开(公告)日
2012-09-12
当前申请(专利权)人
가부시키가이샤 제이올레드
发明人
요시나가타다히코 | 마츠모토토시키 | 히고토모유키
简单同族
CN102655164A | CN102655164B | JP2012186021A | JP5778950B2 | KR101704842B1 | KR1020120100741A | TW201248963A | TWI483441B | US20120223633A1 | US20130323867A1 | US8823255 | US9024521
简单同族成员数量
12
简单同族被引用专利总数
169
诉讼案件数
0
法律状态/事件
授权
抱歉,您的浏览器不支持PDF预览,请点击链接下载PDF文件