专利数据库
统计分析
产业报告
专利数据监控
产业人才
行业动态
产业政策法规
维权援助
个人中心
详情
文本
图像
标题
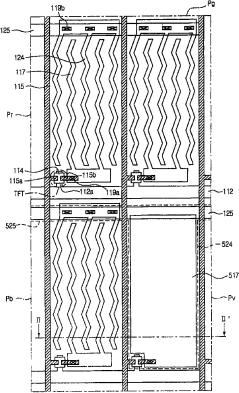
具有可调视角的面内切换模式液晶显示器件及其制造方法
授权日
2009-07-08
公开(公告)号
CN100510860C
申请日
2006-05-08
公开(公告)日
2009-07-08
当前申请(专利权)人
乐金显示有限公司
发明人
郑仁宰 | 陈贤硕 | 张亨锡 | 李得秀
简单同族
CN100510860C | CN1975518A | DE102006029909A1 | DE102006029909B4 | JP2007156403A | JP4644158B2 | KR101244547B1 | KR1020070032192A | TW200720797A | TWI337684B | US20070121047A1 | US7924375
简单同族成员数量
12
简单同族被引用专利总数
120
诉讼案件数
0
法律状态/事件
授权
抱歉,您的浏览器不支持PDF预览,请点击链接下载PDF文件