专利数据库
统计分析
产业报告
专利数据监控
产业人才
行业动态
产业政策法规
维权援助
个人中心
详情
文本
图像
标题
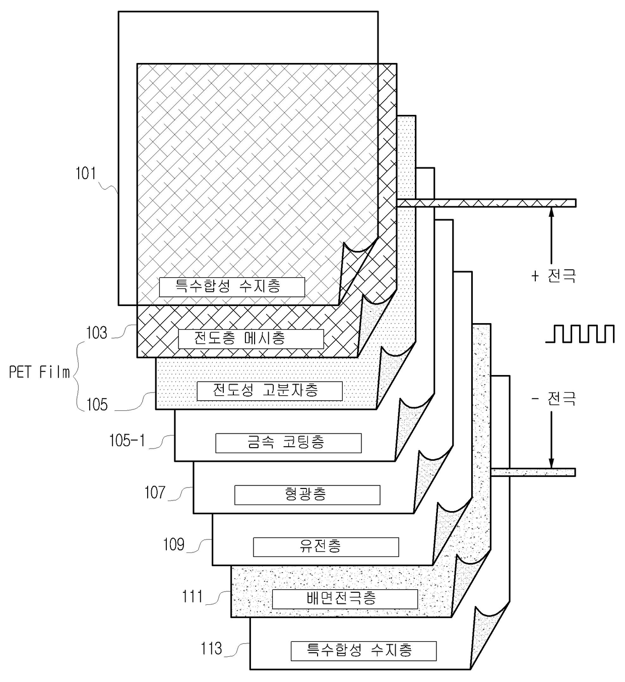
평면형 2중 적층구조를 가진 고분자 유기발광 필름
授权日
2008-11-28
公开(公告)号
KR100872167B1
申请日
2007-08-28
公开(公告)日
2008-12-09
当前申请(专利权)人
(주)알지비테크놀러지
发明人
조성복 | 피완수
简单同族
KR100872167B1
简单同族成员数量
1
简单同族被引用专利总数
0
诉讼案件数
0
法律状态/事件
授权 | 权利转移
抱歉,您的浏览器不支持PDF预览,请点击链接下载PDF文件