专利数据库
统计分析
产业报告
专利数据监控
产业人才
行业动态
产业政策法规
维权援助
个人中心
详情
文本
图像
标题
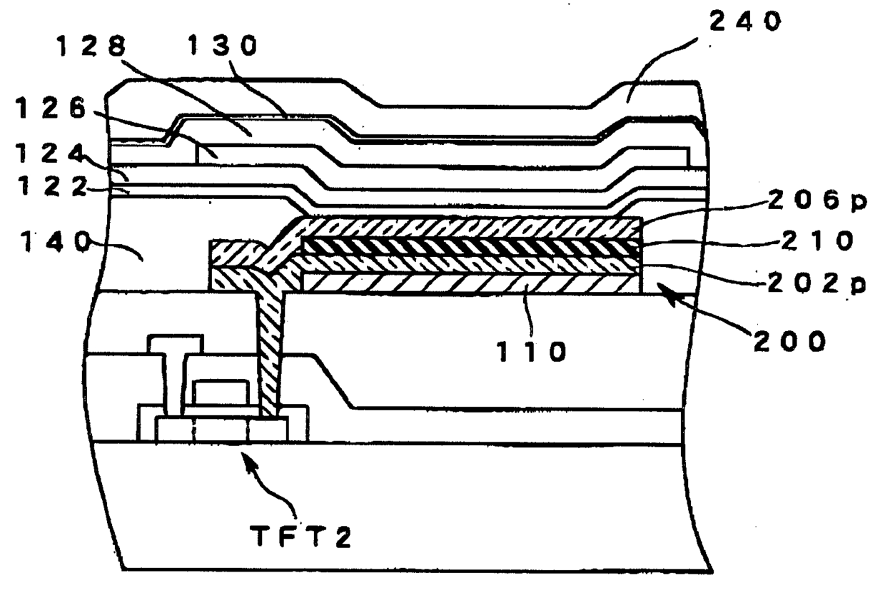
표시 장치 및 그 제조 방법
授权日
1900-01-01
公开(公告)号
KR1020050067067A
申请日
2004-12-24
公开(公告)日
2005-06-30
当前申请(专利权)人
산요덴키가부시키가이샤
发明人
스즈끼고지 | 니시까와류지 | 요네다기요시
简单同族
CN100431165C | CN1638580A | JP2005197011A | JP4475942B2 | KR100684243B1 | KR1020050067067A | TW200522782A | TWI300670B | US20050140277A1 | US7166959
简单同族成员数量
10
简单同族被引用专利总数
154
诉讼案件数
0
法律状态/事件
授权
抱歉,您的浏览器不支持PDF预览,请点击链接下载PDF文件