专利数据库
统计分析
产业报告
专利数据监控
产业人才
行业动态
产业政策法规
维权援助
个人中心
详情
文本
图像
标题
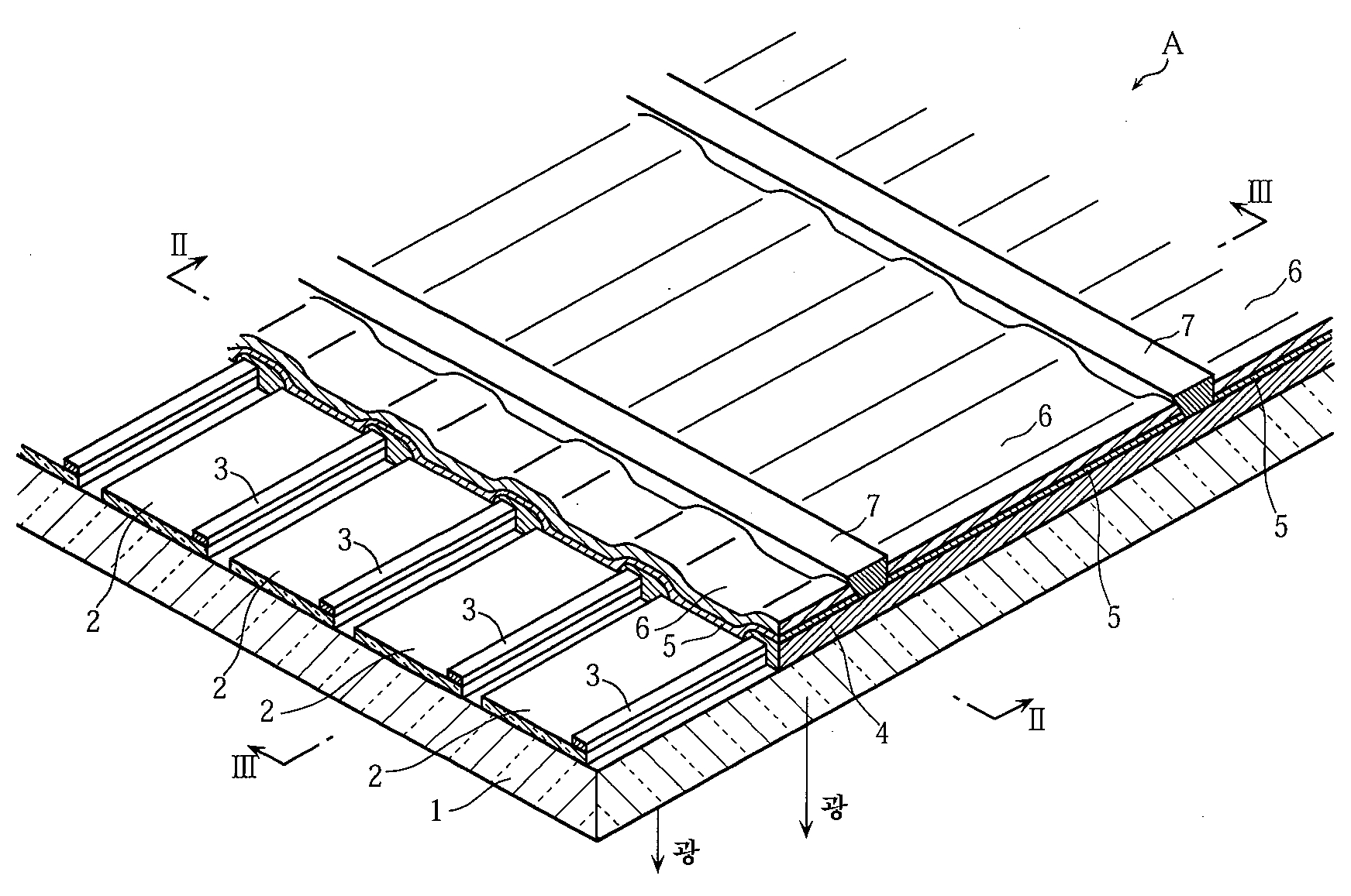
전극 세퍼레이터를 구비한 유기 EL 표시 패널 및 그제조 방법
授权日
1900-01-01
公开(公告)号
KR1020050004793A
申请日
2003-02-28
公开(公告)日
2005-01-12
当前申请(专利权)人
롬 가부시키가이샤
发明人
다카무라마코토 | 테루모토코지
简单同族
CN1640204A | JP2003257663A | JP3910864B2 | KR100663313B1 | KR1020050004793A | TW200306756A | TWI222334B | US20050116629A1 | US20070160938A1 | US7196467 | US7435151 | WO2003075616A1
简单同族成员数量
12
简单同族被引用专利总数
95
诉讼案件数
0
法律状态/事件
授权
抱歉,您的浏览器不支持PDF预览,请点击链接下载PDF文件