专利数据库
统计分析
产业报告
专利数据监控
产业人才
行业动态
产业政策法规
维权援助
个人中心
详情
文本
图像
标题
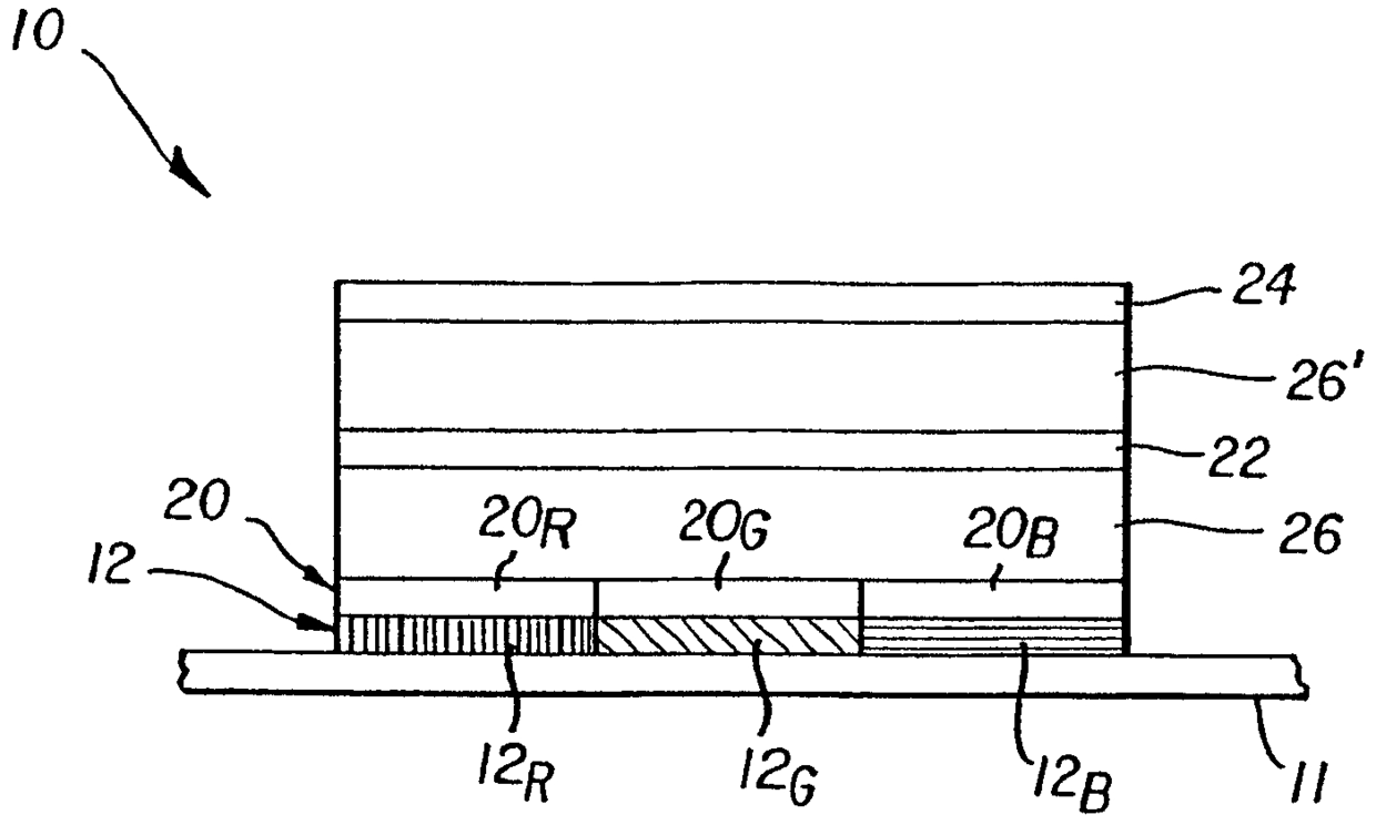
OLED 장치
授权日
1900-01-01
公开(公告)号
KR1020060030053A
申请日
2004-06-24
公开(公告)日
2006-04-07
当前申请(专利权)人
이스트맨 코닥 캄파니
发明人
COK, RONALD STEVEN
简单同族
CN1809936A | EP1644994A1 | JP2007516564A | JP2007516564A5 | KR1020060030053A | TW200504393A | US20040262615A1 | US20050218418A1 | US6903378 | WO2005001951A1
简单同族成员数量
10
简单同族被引用专利总数
168
诉讼案件数
0
法律状态/事件
撤回
抱歉,您的浏览器不支持PDF预览,请点击链接下载PDF文件