专利数据库
统计分析
产业报告
专利数据监控
产业人才
行业动态
产业政策法规
维权援助
个人中心
详情
文本
图像
标题
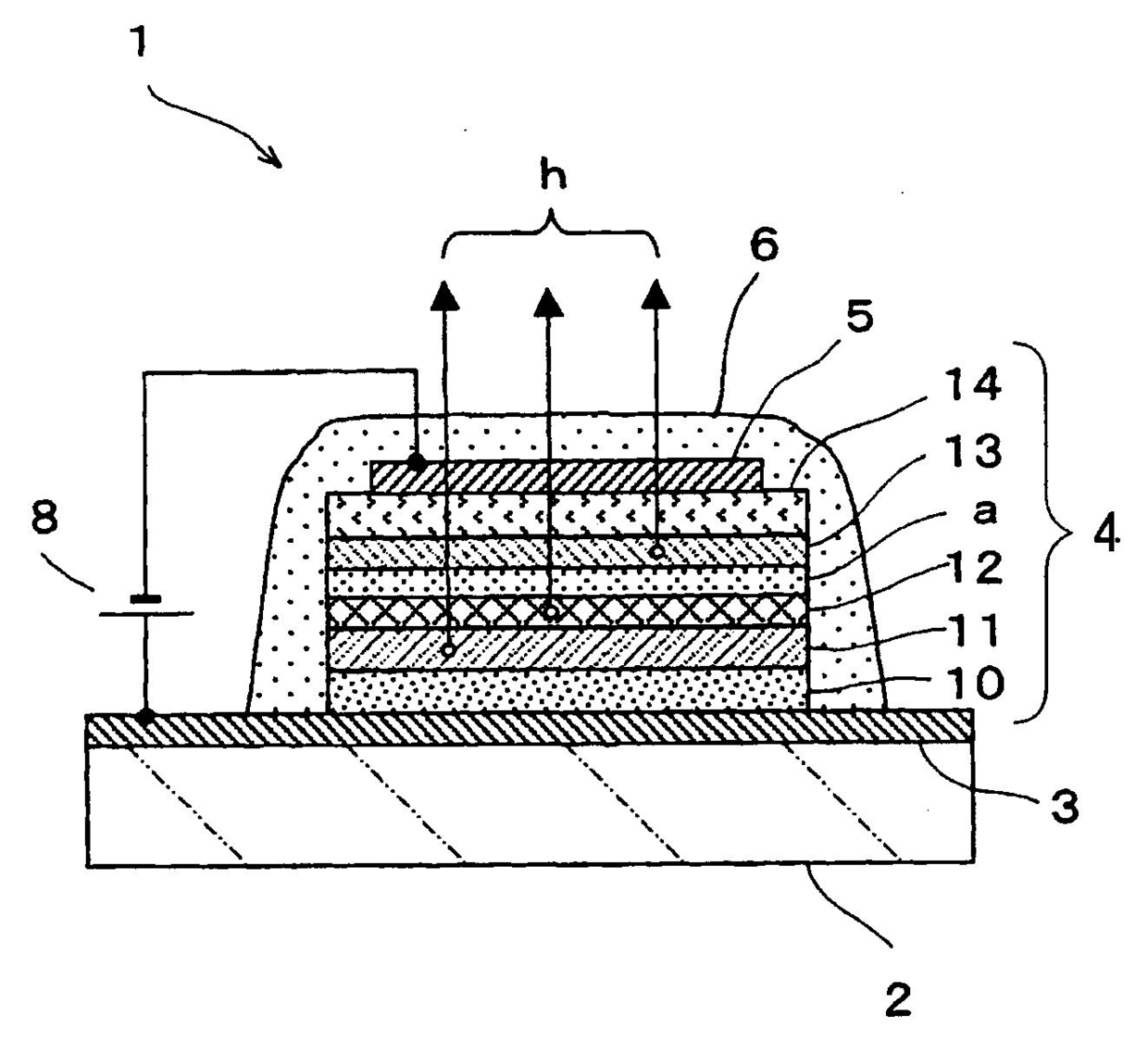
유기 EL 소자 및 표시장치
授权日
2012-01-13
公开(公告)号
KR101108215B1
申请日
2004-08-20
公开(公告)日
2012-01-31
当前申请(专利权)人
소니 가부시키가이샤
发明人
KASHIWABARA, MITSUHIRO
简单同族
EP1667494A1 | EP1667494A4 | JP2005100921A | JP2005100921A5 | KR101108215B1 | KR1020060071399A | TW200515831A | TWI290441B | US20060227079A1 | US8067885 | WO2005027586A1 | WO2005027586B1
简单同族成员数量
12
简单同族被引用专利总数
271
诉讼案件数
0
法律状态/事件
授权 | 权利转移
抱歉,您的浏览器不支持PDF预览,请点击链接下载PDF文件