专利数据库
统计分析
产业报告
专利数据监控
产业人才
行业动态
产业政策法规
维权援助
个人中心
详情
文本
图像
标题
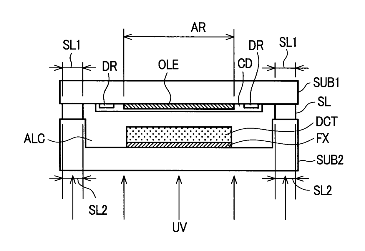
표시 장치
授权日
1900-01-01
公开(公告)号
KR1020040034456A
申请日
2003-10-15
公开(公告)日
2004-04-28
当前申请(专利权)人
가부시키가이샤 히타치세이사쿠쇼 | 가부시키가이샤 재팬 디스프레이
发明人
다께모또이쯔세이 | 마쯔자끼에이지 | 모리유우지 | 우시후사노부유끼 | 마쯔우라히로야스
简单同族
CN100511421C | CN100568527C | CN101154679A | CN1497530A | JP2004139767A | JP4050972B2 | KR100540966B1 | KR1020040034456A | TW200425018A | TWI245251B | US20040075380A1 | US20070152579A1 | US20100277450A1
简单同族成员数量
13
简单同族被引用专利总数
105
诉讼案件数
0
法律状态/事件
授权 | 权利转移
抱歉,您的浏览器不支持PDF预览,请点击链接下载PDF文件