专利数据库
统计分析
产业报告
专利数据监控
产业人才
行业动态
产业政策法规
维权援助
个人中心
详情
文本
图像
标题
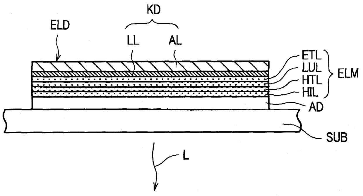
유기EL 표시 장치
授权日
2007-04-06
公开(公告)号
KR100707252B1
申请日
2005-02-15
公开(公告)日
2007-04-13
当前申请(专利权)人
가부시키가이샤 재팬 디스프레이
发明人
오오카히로시 | 가토신이치 | 후루이에마사미츠 | 이토마사토
简单同族
CN100490211C | CN1658711A | JP2005235403A | JP2005235403A5 | KR100707252B1 | KR1020060041946A | TW200709724A | TWI286913B | US20050179378A1 | US20080054800A1 | US7622861 | US7888862
简单同族成员数量
12
简单同族被引用专利总数
150
诉讼案件数
0
法律状态/事件
授权 | 权利转移
抱歉,您的浏览器不支持PDF预览,请点击链接下载PDF文件