专利数据库
统计分析
产业报告
专利数据监控
产业人才
行业动态
产业政策法规
维权援助
个人中心
详情
文本
图像
标题
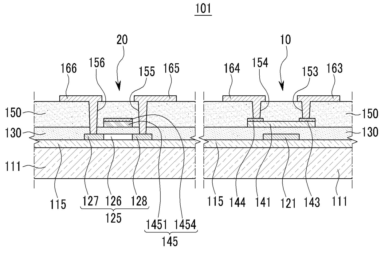
유기 발광 표시 장치 및 그 제조 방법
授权日
2011-09-08
公开(公告)号
KR101065407B1
申请日
2009-08-25
公开(公告)日
2011-09-16
当前申请(专利权)人
삼성모바일디스플레이주식회사
发明人
최종현 | 이준우 | 김광해 | 김경보
简单同族
CN101997025A | CN101997025B | JP2011048339A | JP5015289B2 | KR101065407B1 | KR1020110021259A | TW201114027A | TWI580021B | US20110049523A1 | US8455876
简单同族成员数量
10
简单同族被引用专利总数
126
诉讼案件数
0
法律状态/事件
授权 | 权利转移
抱歉,您的浏览器不支持PDF预览,请点击链接下载PDF文件