专利数据库
统计分析
产业报告
专利数据监控
产业人才
行业动态
产业政策法规
维权援助
个人中心
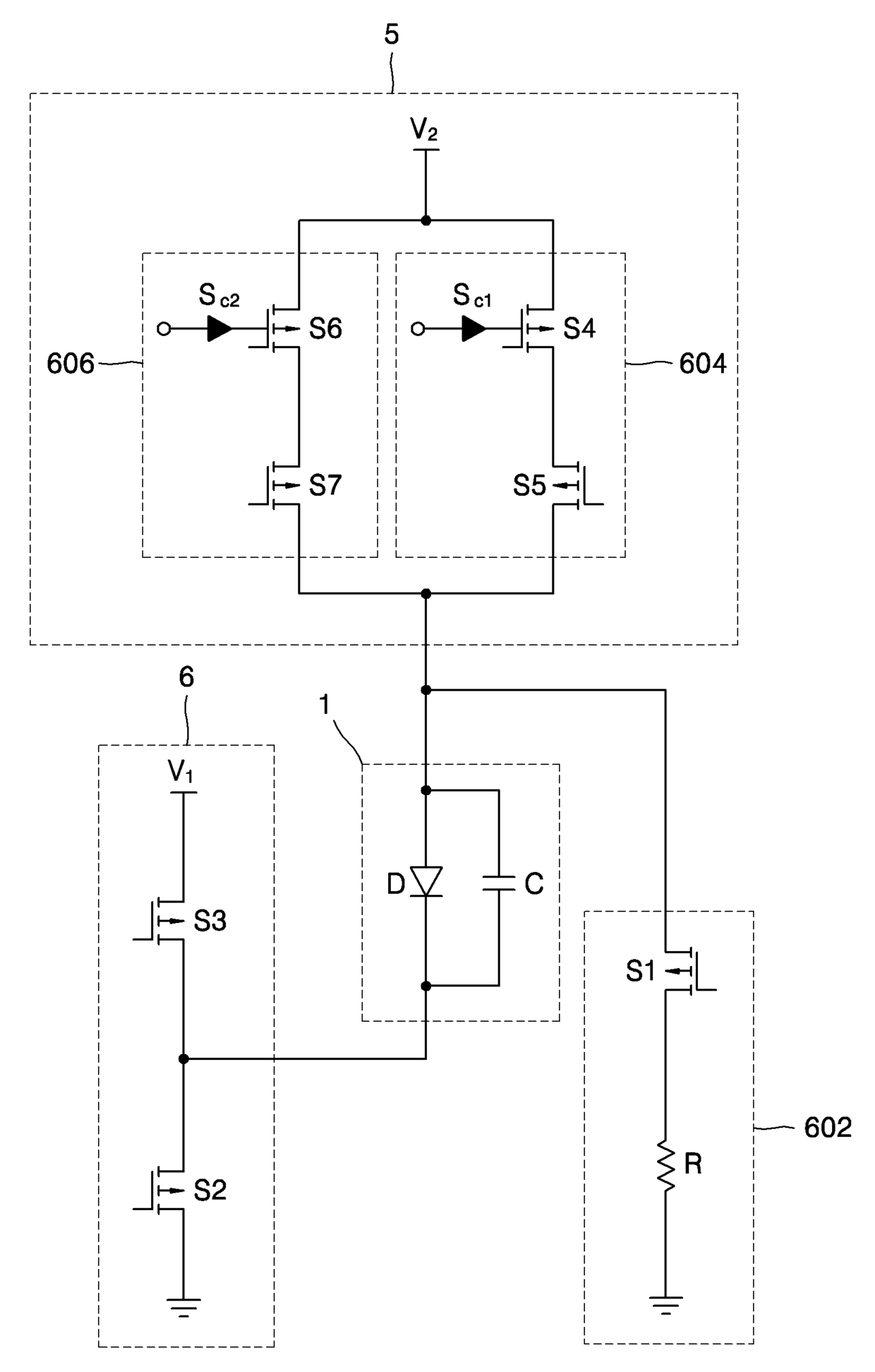
详情
文本
图像
标题
유기발광 표시장치 및 그에 따른 구동방법
授权日
2007-01-10
公开(公告)号
KR100670377B1
申请日
2005-12-14
公开(公告)日
2007-01-16
当前申请(专利权)人
삼성에스디아이 주식회사
发明人
박정국 | 서지연 | 최병준
简单同族
KR100670377B1
简单同族成员数量
1
简单同族被引用专利总数
0
诉讼案件数
0
法律状态/事件
授权 | 权利转移
抱歉,您的浏览器不支持PDF预览,请点击链接下载PDF文件