专利数据库
统计分析
产业报告
专利数据监控
产业人才
行业动态
产业政策法规
维权援助
个人中心
详情
文本
图像
标题
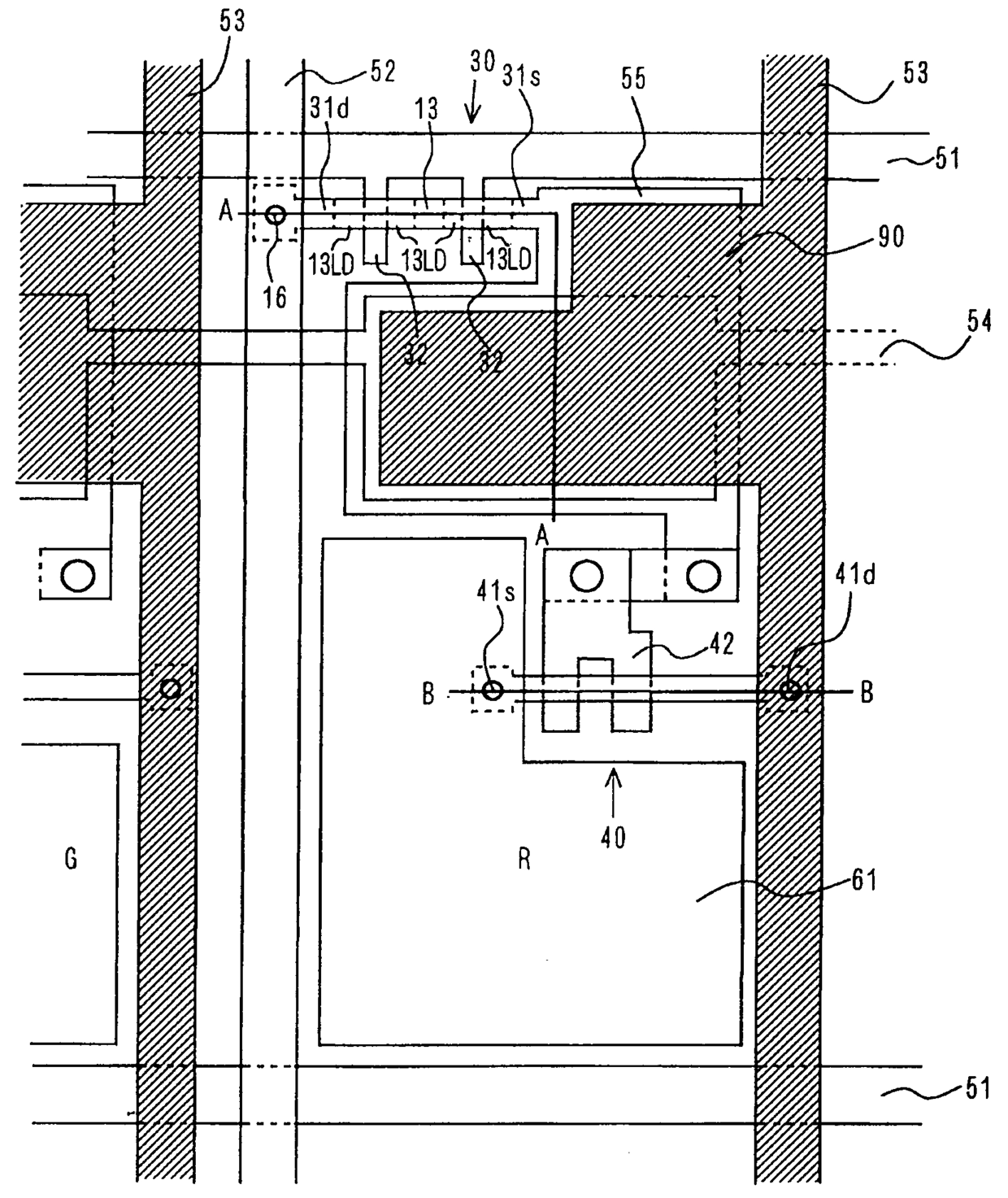
일렉트로 루미네센스 표시 장치
授权日
1900-01-01
公开(公告)号
KR1020010014476A
申请日
2000-02-09
公开(公告)日
2001-02-26
当前申请(专利权)人
산요덴키가부시키가이샤
发明人
YASUDA,HITOSHI
简单同族
JP2000231347A | JP2000231347A5 | JP4334045B2 | KR100710773B1 | KR1020010014476A | TW435053B | US6476419
简单同族成员数量
7
简单同族被引用专利总数
144
诉讼案件数
0
法律状态/事件
期限届满
抱歉,您的浏览器不支持PDF预览,请点击链接下载PDF文件