专利数据库
统计分析
产业报告
专利数据监控
产业人才
行业动态
产业政策法规
维权援助
个人中心
详情
文本
图像
标题
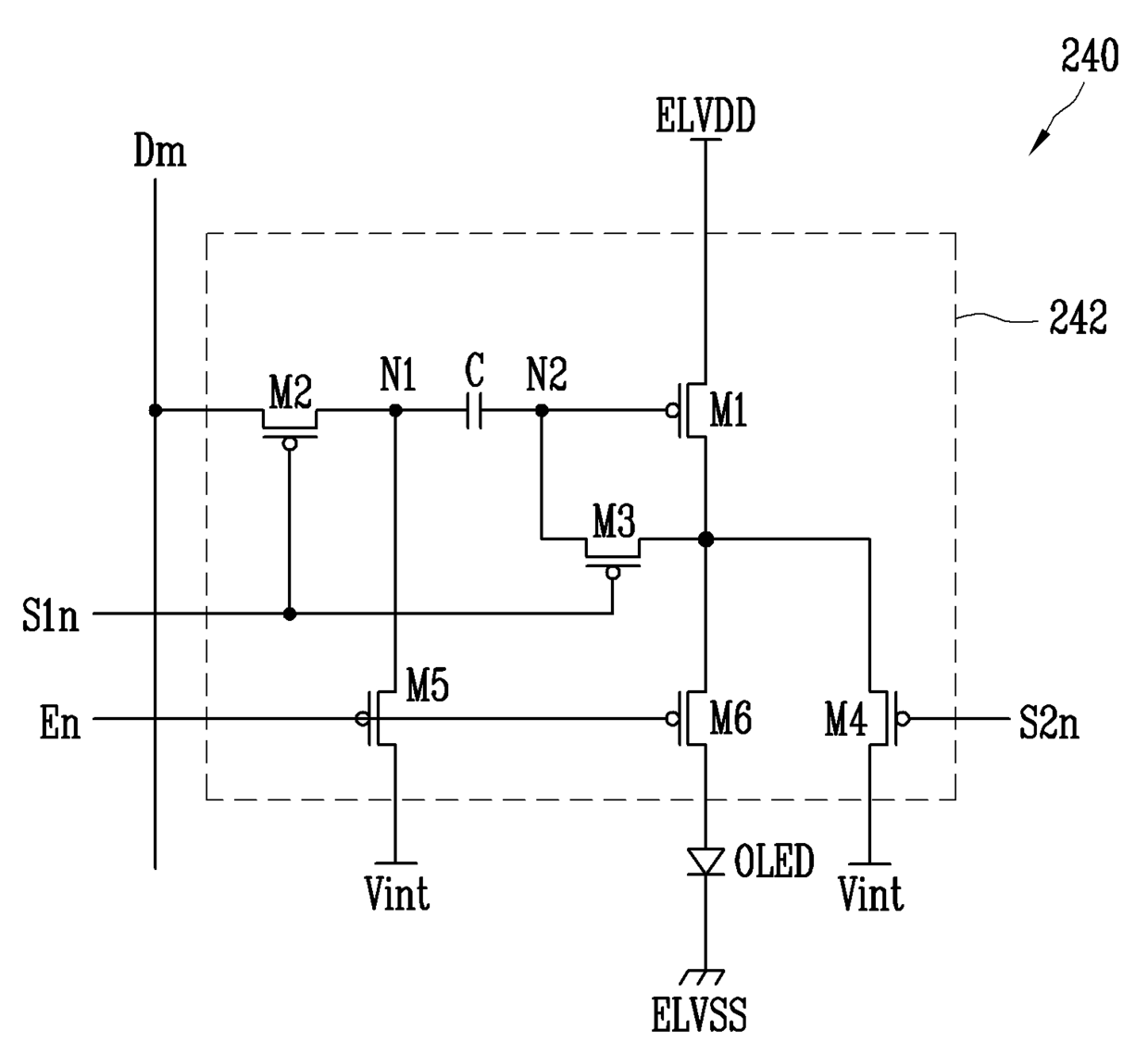
화소 및 이를 이용한 발광 표시장치
授权日
2007-06-20
公开(公告)号
KR100732828B1
申请日
2005-11-09
公开(公告)日
2007-06-27
当前申请(专利权)人
삼성에스디아이 주식회사
发明人
YANG WAN KIM
简单同族
CN100569034C | CN1964585A | EP1785980A2 | EP1785980A3 | EP1785980B1 | JP2007133369A | JP4619334B2 | KR100732828B1 | KR1020070049907A | US20070103406A1 | US7755585
简单同族成员数量
11
简单同族被引用专利总数
149
诉讼案件数
0
法律状态/事件
授权 | 权利转移
抱歉,您的浏览器不支持PDF预览,请点击链接下载PDF文件