专利数据库
统计分析
产业报告
专利数据监控
产业人才
行业动态
产业政策法规
维权援助
个人中心
详情
文本
图像
标题
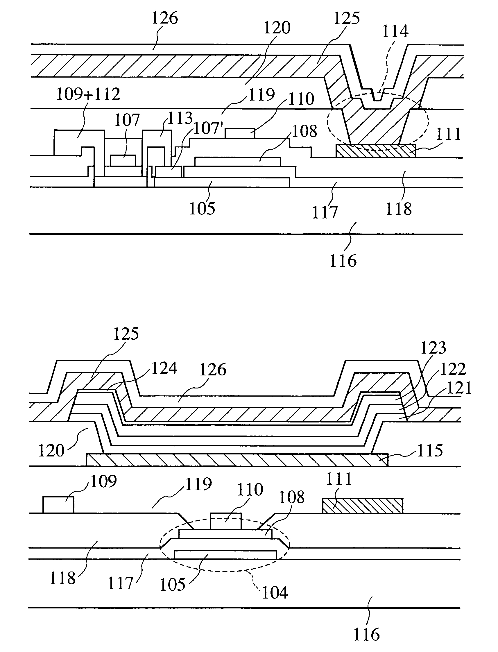
유기 발광 표시 장치
授权日
1900-01-01
公开(公告)号
KR1020030067547A
申请日
2003-02-06
公开(公告)日
2003-08-14
当前申请(专利权)人
가부시키가이샤 히타치세이사쿠쇼
发明人
이시하라신고 | 오우찌다까유끼 | 미까미요시로 | 마스다가즈히또 | 아라따니스께까즈
简单同族
CN1278295C | CN1437177A | JP2003303687A | JP4310984B2 | KR100540416B1 | KR1020030067547A | TW200302993A | TWI228686B | US20030146693A1 | US20050127372A1 | US20080299861A1 | US6864638 | US7408197 | US7909672
简单同族成员数量
14
简单同族被引用专利总数
282
诉讼案件数
0
法律状态/事件
授权 | 权利转移
抱歉,您的浏览器不支持PDF预览,请点击链接下载PDF文件