专利数据库
统计分析
产业报告
专利数据监控
产业人才
行业动态
产业政策法规
维权援助
个人中心
详情
文本
图像
标题
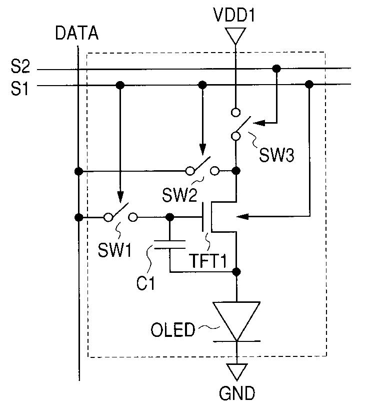
화소회로, 발광표시장치 및 그 구동방법
授权日
1900-01-01
公开(公告)号
KR1020100027986A
申请日
2009-09-01
公开(公告)日
2010-03-11
当前申请(专利权)人
캐논 가부시끼가이샤
发明人
아베카츠미 | 타카하시켄지 | 하야시료 | 쿠모미히데야
简单同族
CN101667391A | CN101667391B | EP2161706A2 | EP2161706A3 | JP2010060816A | JP5207885B2 | KR101125595B1 | KR1020100027986A | TW201011719A | TWI419117B | US20100053041A1 | US8659519
简单同族成员数量
12
简单同族被引用专利总数
122
诉讼案件数
0
法律状态/事件
授权
抱歉,您的浏览器不支持PDF预览,请点击链接下载PDF文件