专利数据库
统计分析
产业报告
专利数据监控
产业人才
行业动态
产业政策法规
维权援助
个人中心
详情
文本
图像
标题
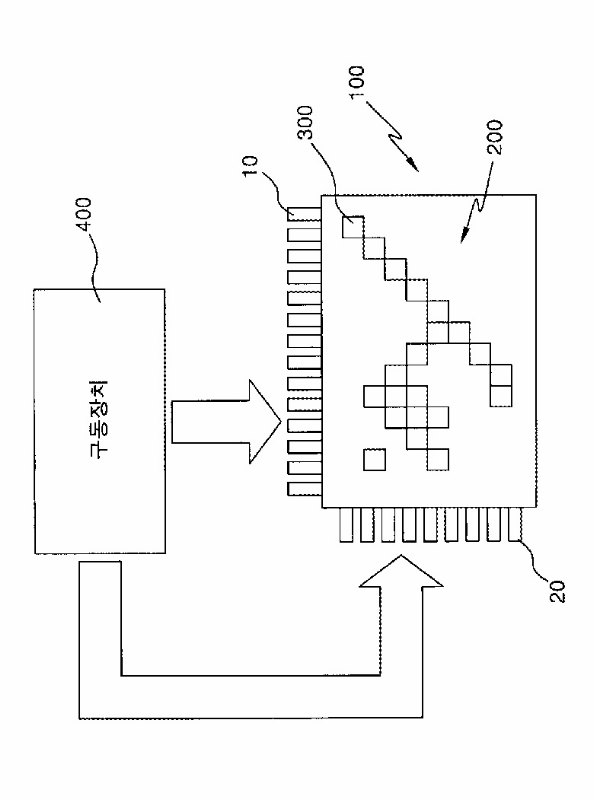
프레임 파트를 이용한 유기 전계 발광 디스플레이 장치
授权日
1900-01-01
公开(公告)号
KR1020020021425A
申请日
2000-09-15
公开(公告)日
2002-03-21
当前申请(专利权)人
주식회사 엘리아테크 | 박원석
发明人
박원석 | 이길재 | 노진두 | 김진
简单同族
KR1020020021425A
简单同族成员数量
1
简单同族被引用专利总数
0
诉讼案件数
0
法律状态/事件
驳回
抱歉,您的浏览器不支持PDF预览,请点击链接下载PDF文件