专利数据库
统计分析
产业报告
专利数据监控
产业人才
行业动态
产业政策法规
维权援助
个人中心
详情
文本
图像
标题
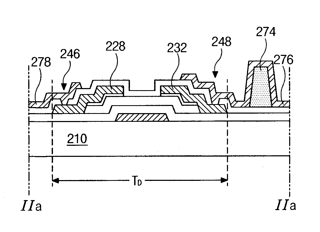
듀얼패널타입 유기전계발광 소자 및 그 제조방법
授权日
1900-01-01
公开(公告)号
KR1020040059701A
申请日
2002-12-28
公开(公告)日
2004-07-06
当前申请(专利权)人
엘지디스플레이 주식회사
发明人
박재용 | 조소행
简单同族
CN100353559C | CN1512830A | DE10360870A1 | DE10360870A8 | DE10360870B4 | FR2849958A1 | FR2849958B1 | GB0329241D0 | GB2396733A | GB2396733B | JP2004213004A | JP3779972B2 | KR100503129B1 | KR1020040059701A | NL1025132A | NL1025132C | TW200414820A | TWI244786B | US20040195959A1 | US20070187677A1 | US7247878 | US7550306
简单同族成员数量
22
简单同族被引用专利总数
151
诉讼案件数
0
法律状态/事件
授权
抱歉,您的浏览器不支持PDF预览,请点击链接下载PDF文件