专利数据库
统计分析
产业报告
专利数据监控
产业人才
行业动态
产业政策法规
维权援助
个人中心
详情
文本
图像
标题
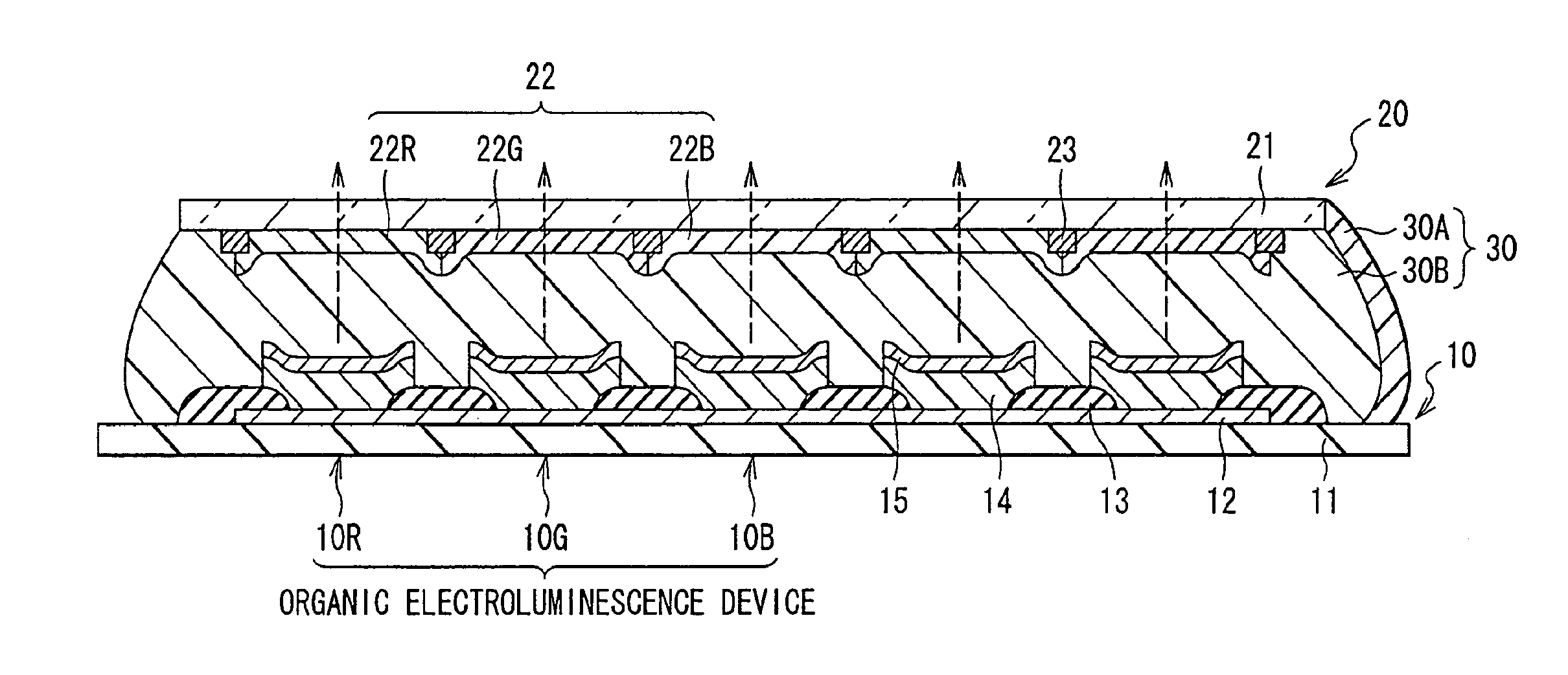
Display apparatus
授权日
1900-01-01
公开(公告)号
US20140167024A1
申请日
2014-02-20
公开(公告)日
2014-06-19
当前申请(专利权)人
JOLED INC.
发明人
IWASE, YUICHI | KIJIMA, YASUNORI | YAMADA, JIRO
简单同族
CN100350624C | CN101080117A | CN101080117B | CN1456025A | DE60226993D1 | EP1441571A1 | EP1441571A4 | EP1441571B1 | JP2003203762A | JP3724725B2 | KR100921284B1 | KR100921285B1 | KR1020040044065A | KR1020090013843A | KR1020090013844A | TWI279162B | US10008688 | US10249841 | US20030173897A1 | US20060214579A1 | US20080009215A1 | US20100327296A1 | US20120205681A1 | US20130099217A1 | US20140167024A1 | US20150048354A1 | US20160336533A1 | US20160336534A1 | US20170301882A1 | US20180277791A1 | US20190181374A1 | US7071619 | US7282856 | US7828617 | US8179038 | US8519622 | US8896203 | US9425427 | US9653699 | US9716246 | WO2003039203A1
简单同族成员数量
41
简单同族被引用专利总数
162
诉讼案件数
0
法律状态/事件
授权 | 权利转移
抱歉,您的浏览器不支持PDF预览,请点击链接下载PDF文件