专利数据库
统计分析
产业报告
专利数据监控
产业人才
行业动态
产业政策法规
维权援助
个人中心
详情
文本
图像
标题
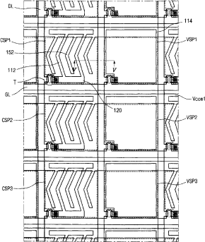
液晶显示器件及其驱动方法
授权日
2009-06-03
公开(公告)号
CN100495136C
申请日
2006-12-13
公开(公告)日
2009-06-03
当前申请(专利权)人
乐金显示有限公司
发明人
张亨锡 | 朴浚圭 | 陈贤硕
简单同族
CN100495136C | CN1991461A | JP2007183609A | JP4638862B2 | KR1020070070721A | US20070153196A1 | US20100141569A1 | US7692750 | US8289490
简单同族成员数量
9
简单同族被引用专利总数
85
诉讼案件数
0
法律状态/事件
授权
抱歉,您的浏览器不支持PDF预览,请点击链接下载PDF文件