专利数据库
统计分析
产业报告
专利数据监控
产业人才
行业动态
产业政策法规
维权援助
个人中心
详情
文本
图像
标题
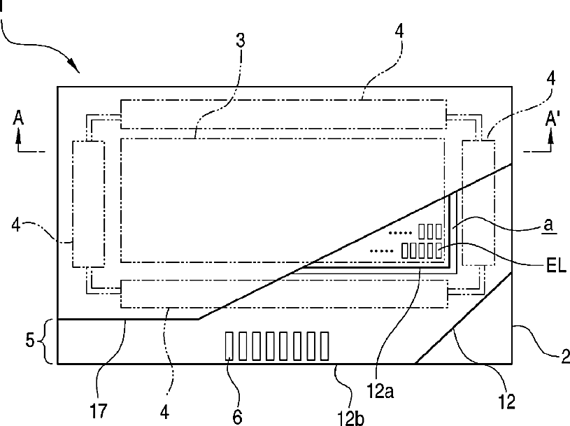
Display device
授权日
1900-01-01
公开(公告)号
US20120062107A1
申请日
2011-11-17
公开(公告)日
2012-03-15
当前申请(专利权)人
JOLED INC.
发明人
FUJIMURA, HIROSHI | INO, MASUMITSU | ASANO, MITSURU | YUMOTO, AKIRA | IWASE, YUICHI
简单同族
CN100463579C | CN1735292A | JP2006054111A | KR101244039B1 | KR1020060050422A | KR1020130016146A | TW200621088A | TWI289028B | US20060033429A1 | US20120062107A1 | US20130249385A1 | US8080936 | US8421349
简单同族成员数量
13
简单同族被引用专利总数
157
诉讼案件数
0
法律状态/事件
授权 | 权利转移
抱歉,您的浏览器不支持PDF预览,请点击链接下载PDF文件