专利数据库
统计分析
产业报告
专利数据监控
产业人才
行业动态
产业政策法规
维权援助
个人中心
详情
文本
图像
标题
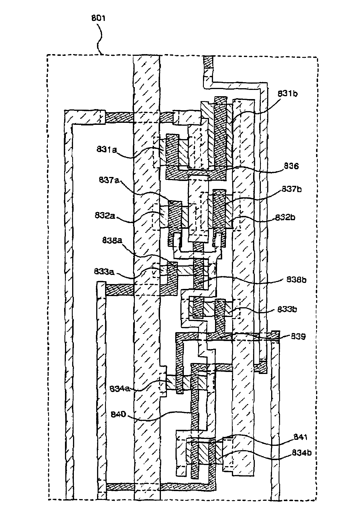
Display device
授权日
2013-03-19
公开(公告)号
US8400379
申请日
2012-05-25
公开(公告)日
2013-03-19
当前申请(专利权)人
SEMICONDUCTOR ENERGY LABORATORY CO., LTD.
发明人
YAMAZAKI, SHUNPEI | KOYAMA, JUN | OSAME, MITSUAKI | OSADA, MAI
简单同族
CN100416643C | CN100595817C | CN101702303A | CN101702303B | CN1318818A | CN1598914A | CN1598914B | CN1630306A | CN1630306B | CN1642022A | EP1148466A2 | EP1148466A3 | EP2242038A1 | KR100677178B1 | KR100684491B1 | KR1020010098690A | KR1020050012703A | TW200511198A | TW200511889A | TW200539091A | TWI272571B | TWI288385B | TWI288577B | TWI288908B | US20010030511A1 | US20010033252A1 | US20050012731A1 | US20050017963A1 | US20050017964A1 | US20100045578A1 | US20110140997A1 | US20120235155A1 | US20130187142A1 | US20140124773A1 | US7221338 | US7623098 | US7623099 | US7623100 | US7990348 | US8194008 | US8400379 | US8638278 | US9196663
简单同族成员数量
43
简单同族被引用专利总数
273
诉讼案件数
0
法律状态/事件
授权
抱歉,您的浏览器不支持PDF预览,请点击链接下载PDF文件