专利数据库
统计分析
产业报告
专利数据监控
产业人才
行业动态
产业政策法规
维权援助
个人中心
详情
文本
图像
标题
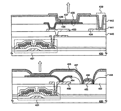
Display device and electronic apparatus
授权日
2018-02-06
公开(公告)号
US9887241
申请日
2014-12-16
公开(公告)日
2018-02-06
当前申请(专利权)人
SEMICONDUCTOR ENERGY LABORATORY CO., LTD.
发明人
YAMAZAKI, SHUNPEI | KOYAMA, JUN
简单同族
CN102832228A | CN102832228B | CN1573846A | US20040256620A1 | US20070222380A1 | US20080164474A1 | US20110108842A1 | US20150097178A1 | US7224118 | US7411344 | US7880380 | US8917016 | US9887241
简单同族成员数量
13
简单同族被引用专利总数
203
诉讼案件数
0
法律状态/事件
授权 | 权利转移
抱歉,您的浏览器不支持PDF预览,请点击链接下载PDF文件