专利数据库
统计分析
产业报告
专利数据监控
产业人才
行业动态
产业政策法规
维权援助
个人中心
详情
文本
图像
标题
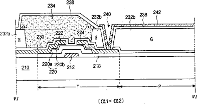
液晶显示器件及其制造方法
授权日
1900-01-01
公开(公告)号
CN1624552A
申请日
2004-12-01
公开(公告)日
2005-06-08
当前申请(专利权)人
乐金显示有限公司
发明人
金雄权 | 朴承烈
简单同族
CN100407022C | CN1624552A | KR100978950B1 | KR1020050052802A | US20050117094A1 | US20070171337A1 | US7212264 | US7391487
简单同族成员数量
8
简单同族被引用专利总数
69
诉讼案件数
0
法律状态/事件
授权
抱歉,您的浏览器不支持PDF预览,请点击链接下载PDF文件