专利数据库
统计分析
产业报告
专利数据监控
产业人才
行业动态
产业政策法规
维权援助
个人中心
详情
文本
图像
标题
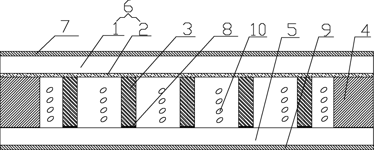
广视角液晶显示器及其液晶盒隔垫物结构
授权日
2012-12-05
公开(公告)号
CN202583656U
申请日
2012-03-22
公开(公告)日
2012-12-05
当前申请(专利权)人
信利半导体有限公司
发明人
肖双喜 | 刘伟 | 任思雨 | 于春崎 | 胡君文 | 谢凡 | 李建华
简单同族
CN202583656U
简单同族成员数量
1
简单同族被引用专利总数
0
诉讼案件数
0
法律状态/事件
授权
抱歉,您的浏览器不支持PDF预览,请点击链接下载PDF文件