专利数据库
统计分析
产业报告
专利数据监控
产业人才
行业动态
产业政策法规
维权援助
个人中心
详情
文本
图像
标题
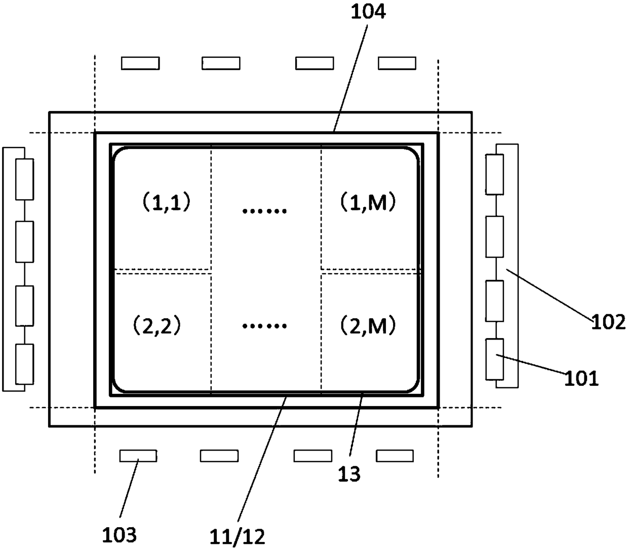
一种拼接式液晶面板及其制造方法
授权日
1900-01-01
公开(公告)号
CN105204210A
申请日
2015-10-27
公开(公告)日
2015-12-30
当前申请(专利权)人
南京中电熊猫液晶显示科技有限公司
发明人
王海宏 | 焦峰 | 马群刚
简单同族
CN105204210A
简单同族成员数量
1
简单同族被引用专利总数
0
诉讼案件数
0
法律状态/事件
驳回
抱歉,您的浏览器不支持PDF预览,请点击链接下载PDF文件