专利数据库
统计分析
产业报告
专利数据监控
产业人才
行业动态
产业政策法规
维权援助
个人中心
详情
文本
图像
标题
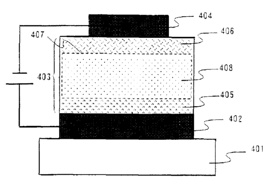
Organic light emitting element and display device using the element
授权日
2014-03-18
公开(公告)号
US8674348
申请日
2012-04-12
公开(公告)日
2014-03-18
当前申请(专利权)人
SEMICONDUCTOR ENERGY LABORATORY CO., LTD.
发明人
SEO, SATOSHI | YAMAZAKI, SHUNPEI
简单同族
CN100481483C | CN101159318A | CN101159318B | CN1378409A | KR100857729B1 | KR1020020064217A | MY129848A | SG118110A1 | TW520614B | US20020101154A1 | US20070228362A1 | US20090096369A1 | US20110101322A1 | US20120256209A1 | US20140167025A1 | US20160079555A1 | US7173370 | US7459722 | US7858977 | US8174007 | US8674348 | US9219241 | US9608224
简单同族成员数量
23
简单同族被引用专利总数
187
诉讼案件数
0
法律状态/事件
授权
抱歉,您的浏览器不支持PDF预览,请点击链接下载PDF文件