专利数据库
统计分析
产业报告
专利数据监控
产业人才
行业动态
产业政策法规
维权援助
个人中心
详情
文本
图像
标题
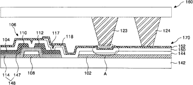
液晶显示面板及其制造方法
授权日
1900-01-01
公开(公告)号
CN1892382A
申请日
2006-06-15
公开(公告)日
2007-01-10
当前申请(专利权)人
乐金显示有限公司
发明人
郭东宁 | 金炫兑
简单同族
CN100435009C | CN1892382A | KR101157978B1 | KR1020070002447A | US20070002265A1 | US7773190
简单同族成员数量
6
简单同族被引用专利总数
64
诉讼案件数
0
法律状态/事件
授权
抱歉,您的浏览器不支持PDF预览,请点击链接下载PDF文件