专利数据库
统计分析
产业报告
专利数据监控
产业人才
行业动态
产业政策法规
维权援助
个人中心
详情
文本
图像
标题
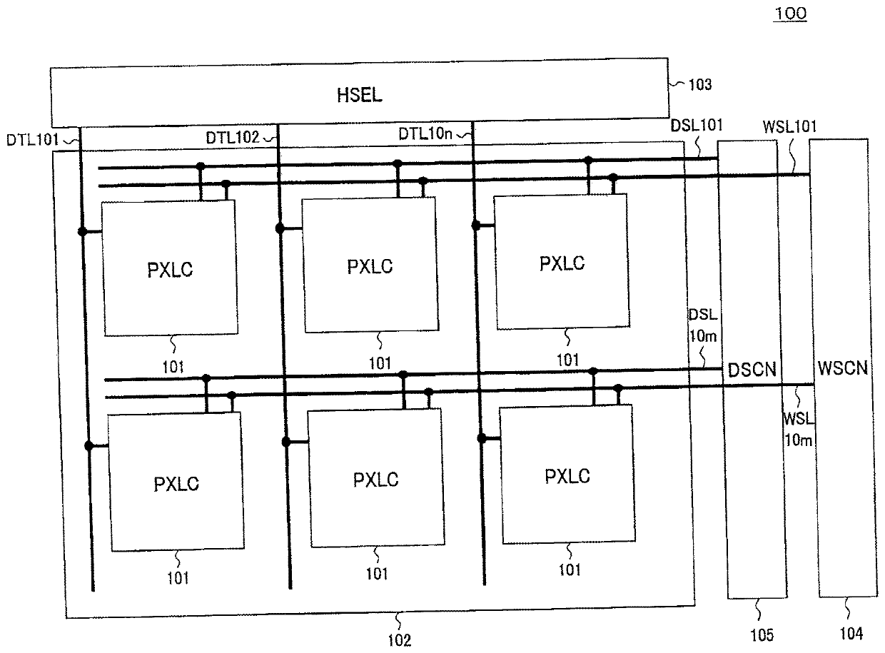
Pixel circuit, display device, and method of driving pixel circuit
授权日
1900-01-01
公开(公告)号
US20200051502A1
申请日
2019-10-16
公开(公告)日
2020-02-13
当前申请(专利权)人
SONY CORPORATION
发明人
UCHINO, KATSUHIDE | YAMASHITA, JUNICHI | YAMAMOTO, TETSURO
简单同族
CN100403379C | CN1795484A | EP1628283A1 | EP1628283A4 | EP1628283B1 | EP2996108A2 | EP2996108A3 | EP2996108B1 | EP3444799A1 | JP2004347993A | JP4360121B2 | KR101054804B1 | KR1020060023534A | SG117274A1 | TW200509048A | TWI255438B | US10475383 | US20070057873A1 | US20120169794A1 | US20130321250A1 | US20130321383A1 | US20140247204A1 | US20140327665A1 | US20170229067A1 | US20180053468A1 | US20180254007A1 | US20200051502A1 | US8149185 | US8723761 | US8754833 | US8760373 | US8988326 | US9666130 | US9947270 | US9984625 | WO2004104975A1
简单同族成员数量
36
简单同族被引用专利总数
228
诉讼案件数
0
法律状态/事件
实质审查
抱歉,您的浏览器不支持PDF预览,请点击链接下载PDF文件