专利数据库
统计分析
产业报告
专利数据监控
产业人才
行业动态
产业政策法规
维权援助
个人中心
详情
文本
图像
标题
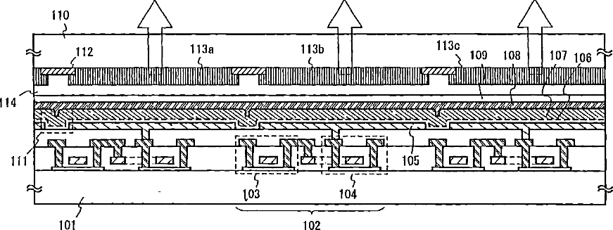
Light-emitting organic compound and el display device utilizing the same
授权日
1900-01-01
公开(公告)号
US20140221597A1
申请日
2014-04-10
公开(公告)日
2014-08-07
当前申请(专利权)人
SEMICONDUCTOR ENERGY LABORATORY CO., LTD.
发明人
YAMAZAKI, SHUNPEI | KONUMA, TOSHIMITSU | MIZUKAMI, MAYUMI
简单同族
DE60045539D1 | EP1087448A2 | EP1087448A3 | EP1087448B1 | US20040079923A1 | US20070007870A1 | US20120043534A1 | US20140221597A1 | US6641933 | US7112374 | US8053979 | US8698389 | US9425403
简单同族成员数量
13
简单同族被引用专利总数
347
诉讼案件数
0
法律状态/事件
授权
抱歉,您的浏览器不支持PDF预览,请点击链接下载PDF文件