专利数据库
统计分析
产业报告
专利数据监控
产业人才
行业动态
产业政策法规
维权援助
个人中心
详情
文本
图像
标题
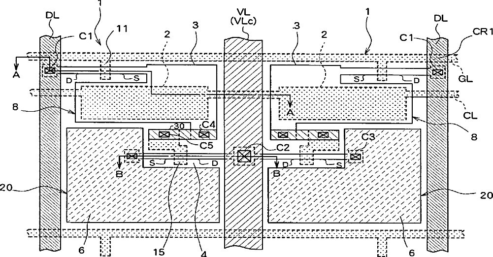
Electroluminescence display device
授权日
2003-02-18
公开(公告)号
US6522079
申请日
2000-09-28
公开(公告)日
2003-02-18
当前申请(专利权)人
SANYO ELECTRIC CO., LTD.
发明人
YAMADA, TSUTOMU
简单同族
JP2001109405A | KR100354640B1 | KR1020010050783A | TW577240B | US6522079
简单同族成员数量
5
简单同族被引用专利总数
164
诉讼案件数
0
法律状态/事件
授权 | 权利转移
抱歉,您的浏览器不支持PDF预览,请点击链接下载PDF文件