专利数据库
统计分析
产业报告
专利数据监控
产业人才
行业动态
产业政策法规
维权援助
个人中心
详情
文本
图像
标题
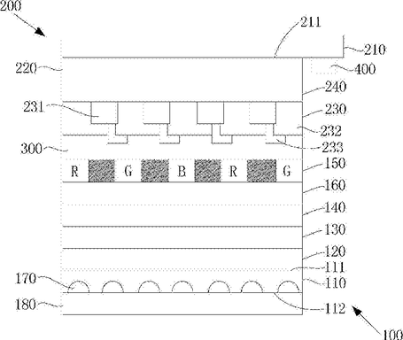
彩色滤光片基板、阵列基板以及液晶显示器
授权日
2017-05-17
公开(公告)号
CN206178291U
申请日
2016-10-13
公开(公告)日
2017-05-17
当前申请(专利权)人
捷开通讯(深圳)有限公司
发明人
罗亮
简单同族
CN206178291U
简单同族成员数量
1
简单同族被引用专利总数
0
诉讼案件数
0
法律状态/事件
未缴年费
抱歉,您的浏览器不支持PDF预览,请点击链接下载PDF文件