专利数据库
统计分析
产业报告
专利数据监控
产业人才
行业动态
产业政策法规
维权援助
个人中心
详情
文本
图像
标题
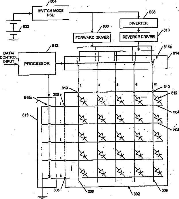
Electroluminiscent display and driver circuit to reduce photoluminesence
授权日
1900-01-01
公开(公告)号
US20060050032A1
申请日
2003-04-28
公开(公告)日
2006-03-09
当前申请(专利权)人
CAMBRIDGE DISPLAY TECHNOLOGY LIMITED
发明人
GUNNER, ALEC G. | SMITH, EUAN | HALLS, JONATHAN J.M.
简单同族
AU2003233864A1 | CN103021327A | CN103021327B | CN1666243A | EP1502252A1 | EP1502252B1 | GB0210013D0 | GB2388236A | HK1080204A | JP2005524117A | JP2005524117A5 | JP4087844B2 | KR100979791B1 | KR1020050003403A | US20060050032A1 | US8026871 | WO2003094140A1 | WO2003094140A8
简单同族成员数量
18
简单同族被引用专利总数
142
诉讼案件数
0
法律状态/事件
授权 | 权利转移
抱歉,您的浏览器不支持PDF预览,请点击链接下载PDF文件