专利数据库
统计分析
产业报告
专利数据监控
产业人才
行业动态
产业政策法规
维权援助
个人中心
详情
文本
图像
标题
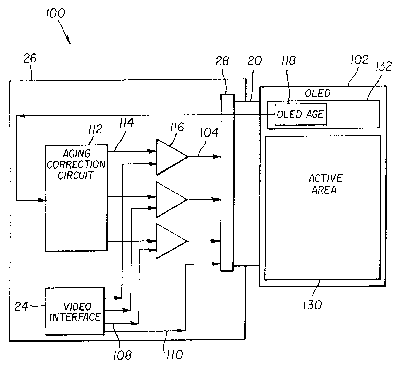
Display with aging correction circuit
授权日
2002-12-31
公开(公告)号
US6501230
申请日
2001-08-27
公开(公告)日
2002-12-31
当前申请(专利权)人
GLOBAL OLED TECHNOLOGY LLC
发明人
FELDMAN, RODNEY D.
简单同族
EP1291840A2 | EP1291840A3 | JP2003151765A | KR1020030019103A | TW591942B | US6501230
简单同族成员数量
6
简单同族被引用专利总数
164
诉讼案件数
0
法律状态/事件
授权 | 权利转移
抱歉,您的浏览器不支持PDF预览,请点击链接下载PDF文件