专利数据库
统计分析
产业报告
专利数据监控
产业人才
行业动态
产业政策法规
维权援助
个人中心
详情
文本
图像
标题
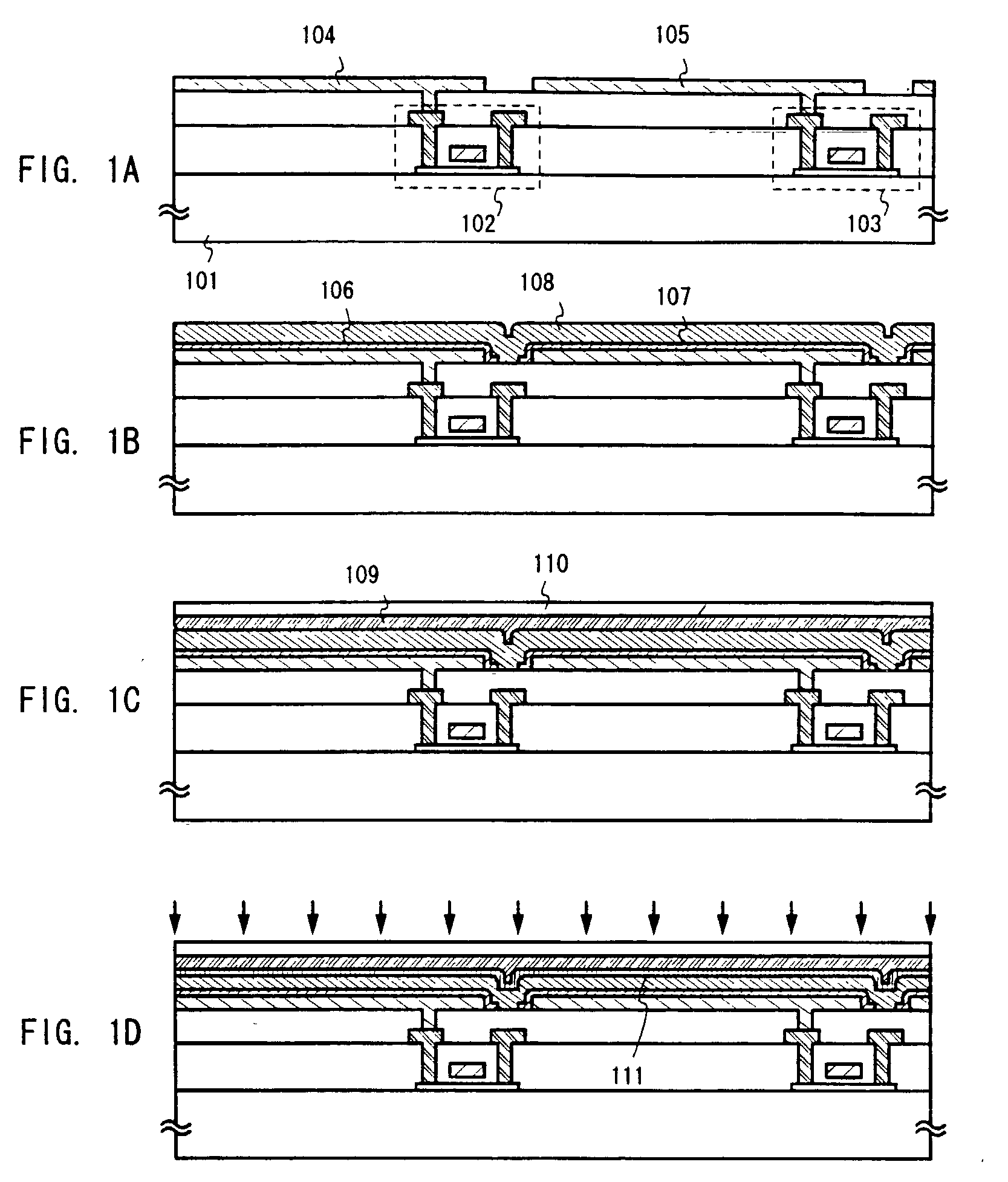
EL display device and a method of manufacturing the same
授权日
1900-01-01
公开(公告)号
US20020164416A1
申请日
2002-07-01
公开(公告)日
2002-11-07
当前申请(专利权)人
SEMICONDUCTOR ENERGY LABORATORY CO., LTD.
发明人
YAMAZAKI, SHUNPEI
简单同族
CN1208845C | CN1282110A | CN1674748A | CN1674748B | CN1877880A | CN1877880B | EP1071144A2 | EP1071144A3 | EP1071144B1 | JP2001035657A | JP2001035657A5 | JP4472056B2 | KR100689641B1 | KR1020010039733A | TW517398B | US20020164416A1 | US20040229392A1 | US6432561 | US6673643 | US7456037
简单同族成员数量
20
简单同族被引用专利总数
144
诉讼案件数
0
法律状态/事件
期限届满
抱歉,您的浏览器不支持PDF预览,请点击链接下载PDF文件