专利数据库
统计分析
产业报告
专利数据监控
产业人才
行业动态
产业政策法规
维权援助
个人中心
详情
文本
图像
标题
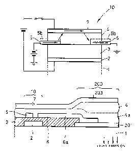
Switching element having insulative film and organic film and electroluminescent element display device
授权日
2004-12-28
公开(公告)号
US6836067
申请日
2000-03-02
公开(公告)日
2004-12-28
当前申请(专利权)人
PIONEER CORPORATION
发明人
IMAI, KUNIO
简单同族
DE60034612D1 | DE60034612T2 | EP1033765A2 | EP1033765A3 | EP1033765B1 | JP2000252550A | JP3850005B2 | US6836067
简单同族成员数量
8
简单同族被引用专利总数
88
诉讼案件数
0
法律状态/事件
未缴年费 | 权利转移
抱歉,您的浏览器不支持PDF预览,请点击链接下载PDF文件