专利数据库
统计分析
产业报告
专利数据监控
产业人才
行业动态
产业政策法规
维权援助
个人中心
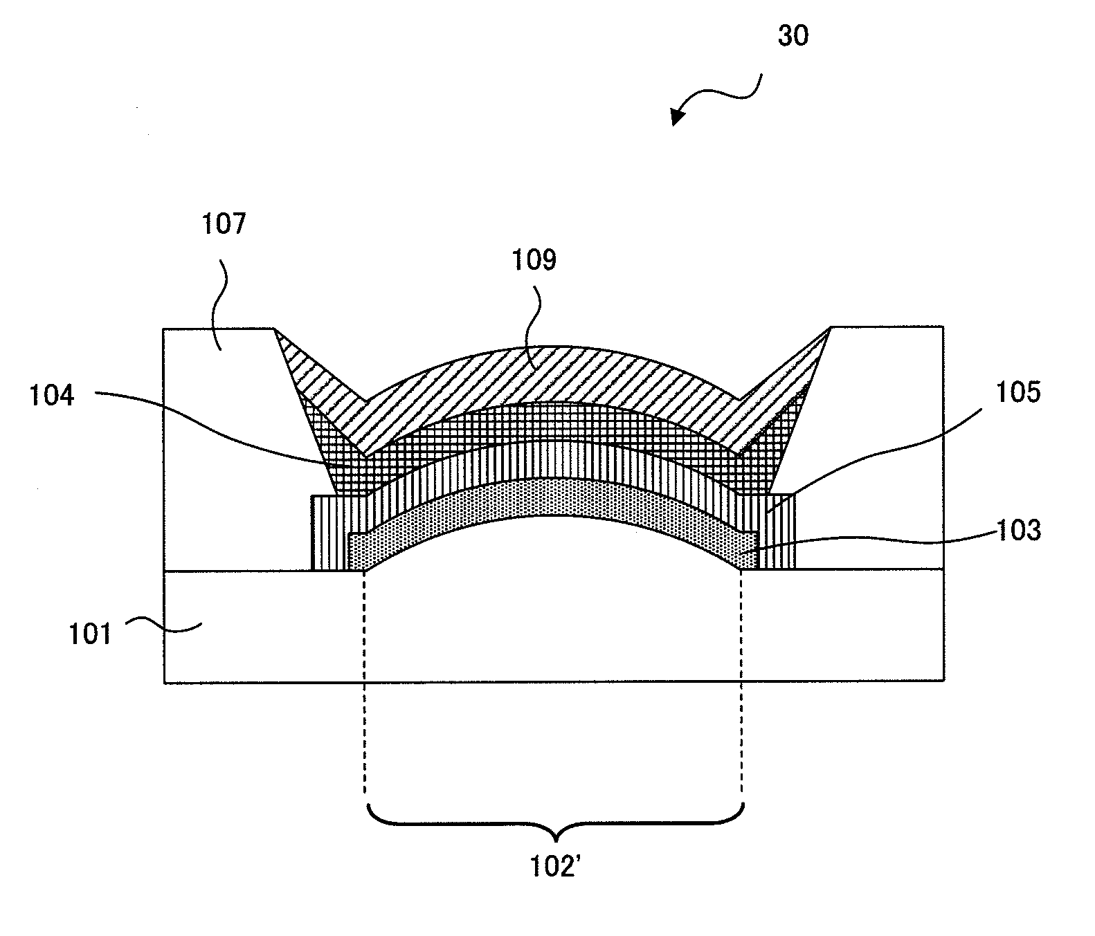
详情
文本
图像
标题
Organic el display panel
授权日
1900-01-01
公开(公告)号
US20100181554A1
申请日
2009-01-30
公开(公告)日
2010-07-22
当前申请(专利权)人
JOLED INC
发明人
YOSHIDA, HIDEHIRO | OKUMOTO, KENJI | YAMAMURO, KEISEI
简单同族
CN101681997A | CN101681997B | EP2270896A1 | EP2270896A4 | EP2270896B1 | JP2010050107A | JP4418525B2 | JP4526595B2 | JPWO2009107323A1 | KR100959466B1 | KR1020090121272A | US20100181554A1 | US7812345 | WO2009107323A1
简单同族成员数量
14
简单同族被引用专利总数
121
诉讼案件数
0
法律状态/事件
授权 | 权利转移
抱歉,您的浏览器不支持PDF预览,请点击链接下载PDF文件