专利数据库
统计分析
产业报告
专利数据监控
产业人才
行业动态
产业政策法规
维权援助
个人中心
详情
文本
图像
标题
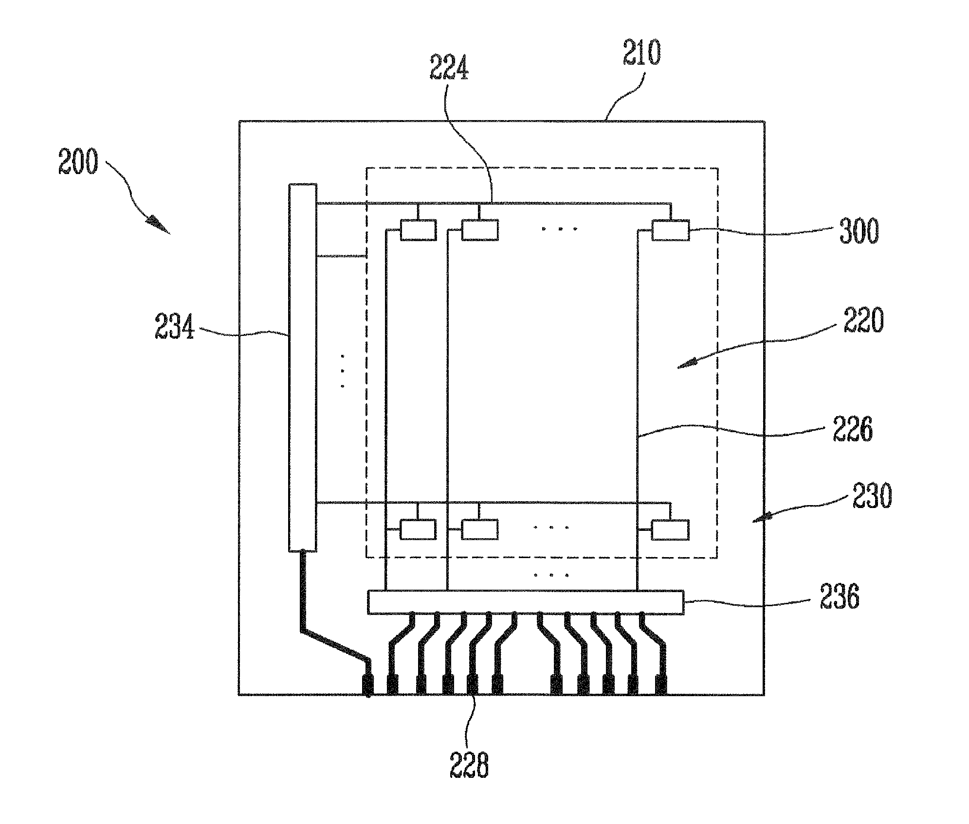
Organic light emitting display device
授权日
1900-01-01
公开(公告)号
US20100182223A1
申请日
2010-01-22
公开(公告)日
2010-07-22
当前申请(专利权)人
SAMSUNG DISPLAY CO., LTD.
发明人
CHOI, JONG-HYUN | IM, JANG-SOON | KIM, SUNG-HO | LEE, ILJEONG
简单同族
KR101048965B1 | KR1020100086256A | US20100182223A1
简单同族成员数量
3
简单同族被引用专利总数
152
诉讼案件数
0
法律状态/事件
撤回 | 权利转移
抱歉,您的浏览器不支持PDF预览,请点击链接下载PDF文件