专利数据库
统计分析
产业报告
专利数据监控
产业人才
行业动态
产业政策法规
维权援助
个人中心
详情
文本
图像
标题
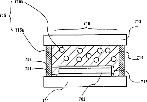
Panel light comprising a light-emitting device
授权日
2014-07-22
公开(公告)号
US8785964
申请日
2009-05-05
公开(公告)日
2014-07-22
当前申请(专利权)人
SEMICONDUCTOR ENERGY LABORATORY CO., LTD.
发明人
SHITAGAKI, SATOKO | SEO, SATOSHI | NISHI, TAKESHI
简单同族
AU2003289347A1 | CN102281659A | CN102281659B | CN1732714A | CN1732714B | JP2007115705A | JP4429917B2 | JP4494394B2 | JPWO2004060021A1 | JPWO2004060021A5 | KR101114900B1 | KR101236235B1 | KR1020050088220A | KR1020110046564A | TW200420182A | TWI351894B | US20040245541A1 | US20090218939A1 | US20150076461A1 | US7531847 | US8785964 | WO2004060021A1
简单同族成员数量
22
简单同族被引用专利总数
175
诉讼案件数
0
法律状态/事件
未缴年费
抱歉,您的浏览器不支持PDF预览,请点击链接下载PDF文件