专利数据库
统计分析
产业报告
专利数据监控
产业人才
行业动态
产业政策法规
维权援助
个人中心
详情
文本
图像
标题
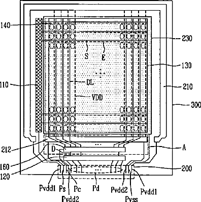
Organic light emitting display
授权日
2011-08-23
公开(公告)号
US8004480
申请日
2005-10-11
公开(公告)日
2011-08-23
当前申请(专利权)人
SAMSUNG DISPLAY CO., LTD.
发明人
KIM, YANG WAN | KWAK, WON KYU
简单同族
CN100468502C | CN1758314A | JP2006106676A | KR100583138B1 | KR1020060031548A | US20060123293A1 | US8004480
简单同族成员数量
7
简单同族被引用专利总数
84
诉讼案件数
0
法律状态/事件
授权 | 权利转移
抱歉,您的浏览器不支持PDF预览,请点击链接下载PDF文件