专利数据库
统计分析
产业报告
专利数据监控
产业人才
行业动态
产业政策法规
维权援助
个人中心
详情
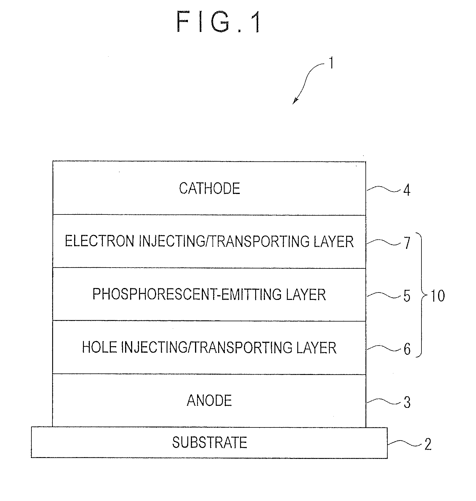
文本
图像
标题
Organic electroluminescent device and material for organic electroluminescent device
授权日
1900-01-01
公开(公告)号
EP2166587A1
申请日
2008-07-04
公开(公告)日
2010-03-24
当前申请(专利权)人
IDEMITSU KOSAN CO., LTD.
发明人
NISHIMURA, KAZUKI | IWAKUMA, TOSHIHIRO | FUKUOKA, KENICHI | HOSOKAWA, CHISHIO | KAWAMURA, MASAHIRO | ITO, MITSUNORI | TAKASHIMA, YORIYUKI | OGIWARA, TOSHINARI
简单同族
CN101730946A | CN101730948A | CN101730948B | CN101960635A | CN101960635B | EP2166585A1 | EP2166585A4 | EP2166586A1 | EP2166586A4 | EP2166587A1 | EP2166587A4 | JP5208937B2 | JP5286264B2 | JP5303462B2 | JP5307005B2 | JPWO2009008215A1 | JPWO2009008216A1 | JPWO2009008342A1 | JPWO2009008343A1 | KR101663325B1 | KR1020100031135A | KR1020100039369A | KR1020100040901A | TW200909560A | TW200911959A | TW200913340A | TW200913341A | TW200918640A | TW200919799A | TW200920812A | TW200920814A | TW200920815A | US20090009065A1 | US8330350 | WO2009008205A1 | WO2009008215A1 | WO2009008216A1 | WO2009008342A1 | WO2009008343A1 | WO2009008360A1 | WO2009008361A1 | WO2009008364A1 | WO2009008365A1
简单同族成员数量
43
简单同族被引用专利总数
571
诉讼案件数
0
法律状态/事件
撤回
抱歉,您的浏览器不支持PDF预览,请点击链接下载PDF文件