专利数据库
统计分析
产业报告
专利数据监控
产业人才
行业动态
产业政策法规
维权援助
个人中心
详情
文本
图像
标题
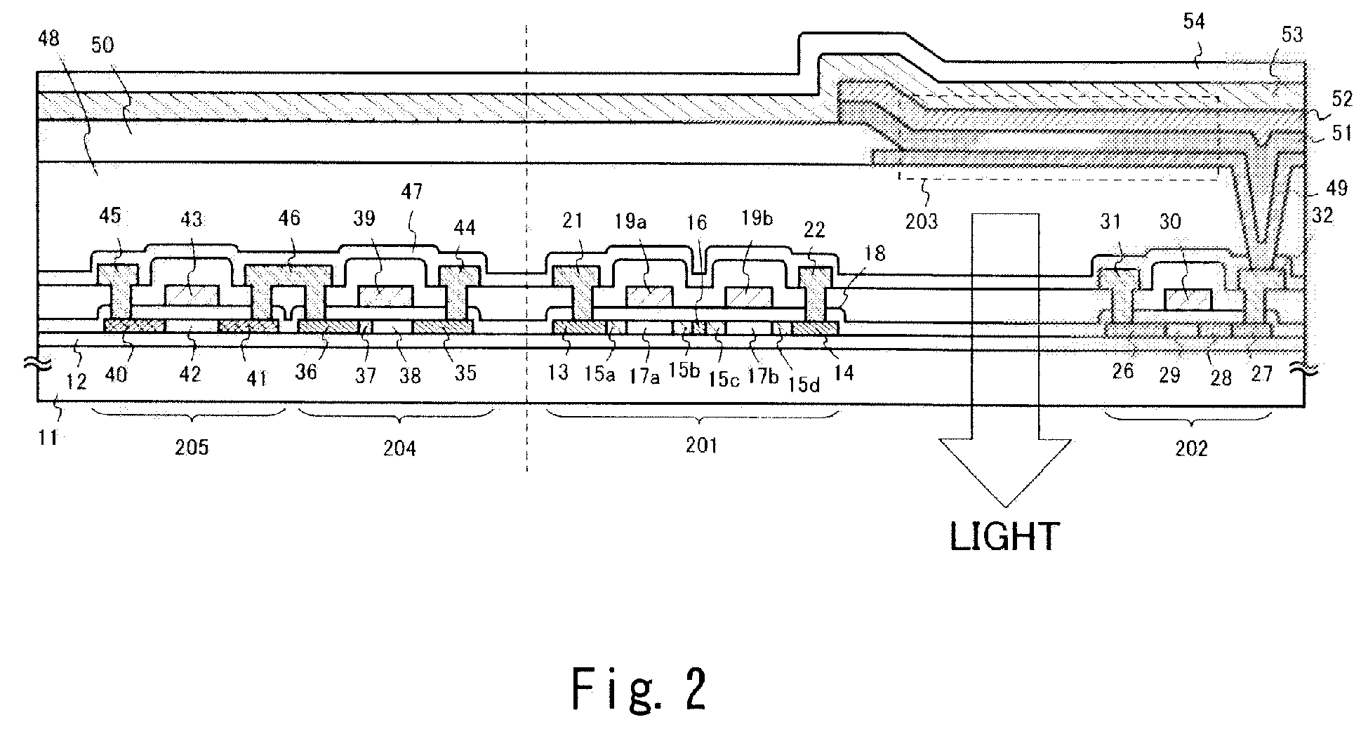
El display device
授权日
1900-01-01
公开(公告)号
EP2385557A1
申请日
2000-06-19
公开(公告)日
2011-11-09
当前申请(专利权)人
SEMICONDUCTOR ENERGY LABORATORY CO., LTD.
发明人
YAMAUCHI, YUKIO | FUKUNAGA, TAKESHI
简单同族
CN100415063C | CN100417306C | CN100423617C | CN1263164C | CN1278110A | CN1606390A | CN1606391A | CN1607867A | EP1063704A2 | EP1063704A3 | EP2385557A1 | JP2001067018A | JP2001067018A5 | JP2012118545A | JP2012118545A5 | JP2013178521A | JP5210473B2 | JP5298208B2 | JP5459921B2 | KR100653405B1 | KR100653761B1 | KR100653791B1 | KR100653809B1 | KR1020010029824A | KR1020050076720A | KR1020050076721A | KR1020050079000A | TW483287B | US20030057856A1 | US20050073241A1 | US20050073242A1 | US20080116458A1 | US20110012818A1 | US20130175536A1 | US20140015872A1 | US20140347254A1 | US20150138174A1 | US6452341 | US6844683 | US7312572 | US7466293 | US7821200 | US8405594 | US8558773 | US8830146 | US8941565 | US9659524
简单同族成员数量
47
简单同族被引用专利总数
433
诉讼案件数
0
法律状态/事件
撤回
抱歉,您的浏览器不支持PDF预览,请点击链接下载PDF文件