专利数据库
统计分析
产业报告
专利数据监控
产业人才
行业动态
产业政策法规
维权援助
个人中心
详情
文本
图像
标题
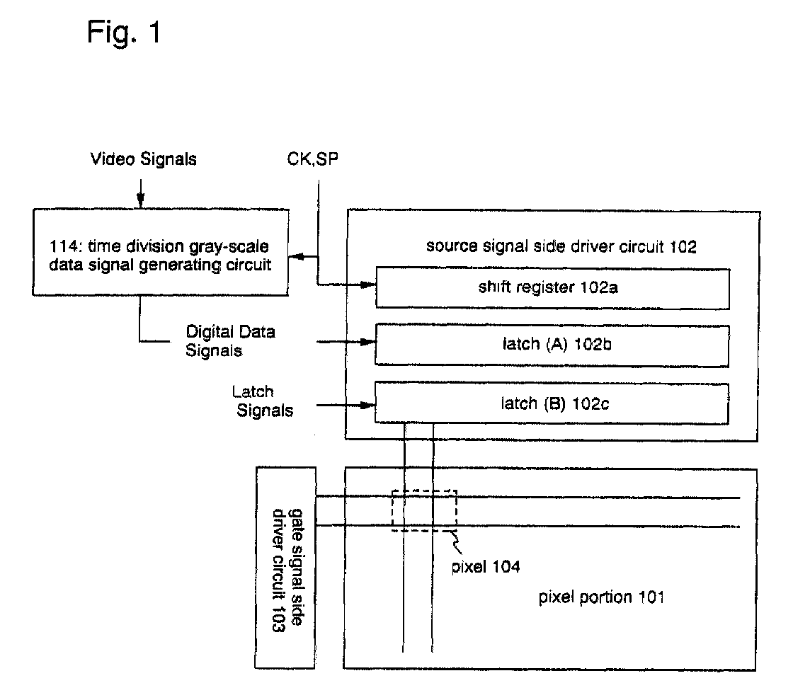
Gradation control of a electroluminescent display device
授权日
1900-01-01
公开(公告)号
EP1094436A3
申请日
2000-10-20
公开(公告)日
2002-07-10
当前申请(专利权)人
SEMICONDUCTOR ENERGY LABORATORY CO., LTD.
发明人
KOYAMA, JUN | INUKAI, KAZUTAKA | YAMAZAKI, SHUNPEI | OSADA, MAI
简单同族
CN100423059C | CN1133972C | CN1294375A | CN1516094A | EP1094436A2 | EP1094436A3 | EP1094436B1 | JP2001222255A | JP2001222255A5 | JP2011128630A | JP2012215884A | JP2013210642A | JP2014197204A | JP2016191921A | JP2017173846A | JP2019105849A | JP4727030B2 | JP5292417B2 | JP5648018B2 | JP5764604B2 | KR100700300B1 | KR100700318B1 | KR100795320B1 | KR100810458B1 | KR1020010051068A | KR1020020032483A | KR1020050059013A | KR1020070029609A | TW535454B | TW591584B | US20050162356A1 | US20090015524A1 | US20140253811A1 | US6872973 | US7403179 | US8736520
简单同族成员数量
36
简单同族被引用专利总数
200
诉讼案件数
0
法律状态/事件
权利终止
抱歉,您的浏览器不支持PDF预览,请点击链接下载PDF文件