专利数据库
统计分析
产业报告
专利数据监控
产业人才
行业动态
产业政策法规
维权援助
个人中心
详情
文本
图像
标题
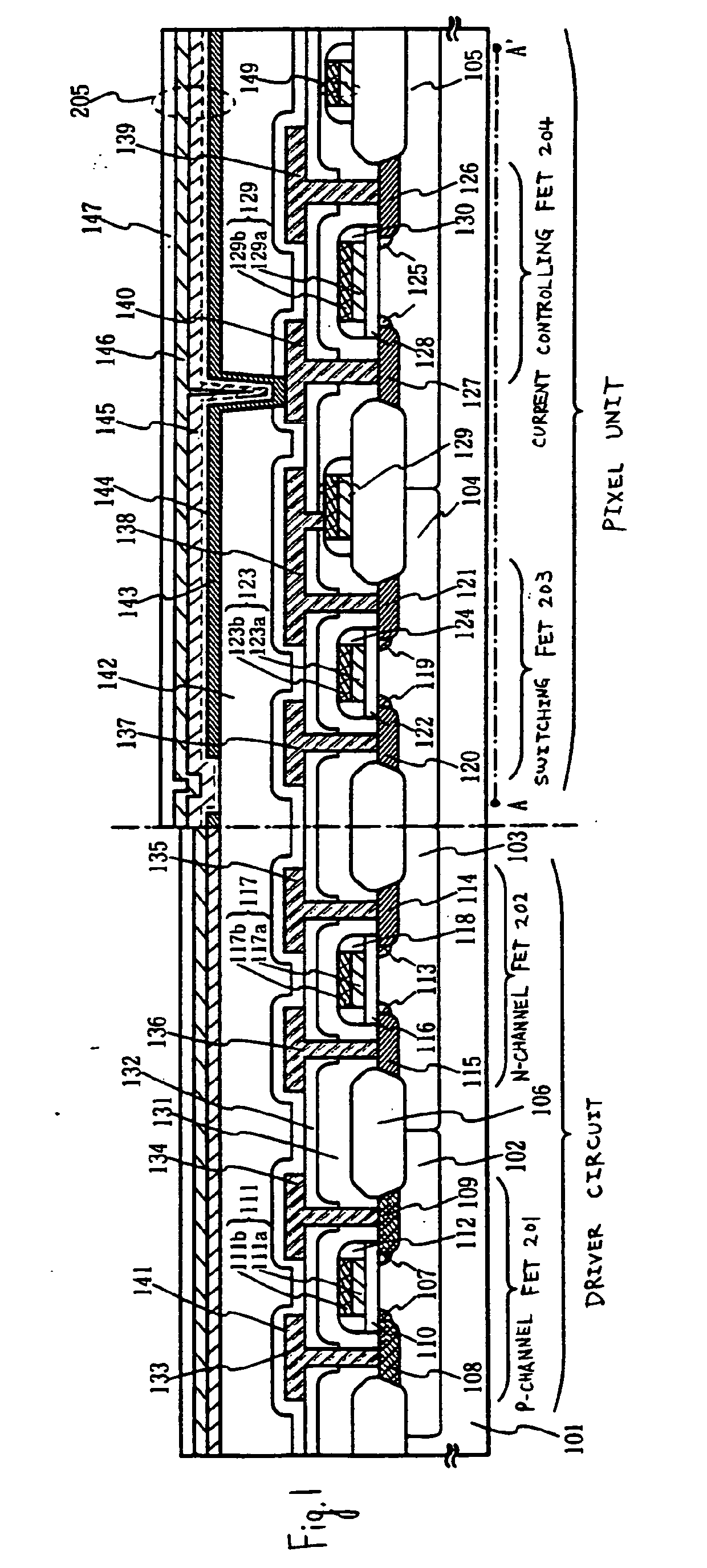
Organic electroluminescent display device
授权日
2008-07-30
公开(公告)号
EP1777994B1
申请日
2000-09-29
公开(公告)日
2008-07-30
当前申请(专利权)人
SEMICONDUCTOR ENERGY LABORATORY CO., LTD.
发明人
YAMAZAKI, SHUNPEI | ARAI, YASUYUKI
简单同族
CN1269227C | CN1290966A | CN1877851A | DE60033103D1 | DE60033103T2 | DE60039733D1 | EP1089595A2 | EP1089595A3 | EP1089595B1 | EP1777994A2 | EP1777994A3 | EP1777994B1 | KR100747418B1 | KR1020010039961A | US20050156173A1 | US20110062461A1 | US20130234122A1 | US20140312334A1 | US6876145 | US7838883 | US8426876 | US8772766 | US9853235
简单同族成员数量
23
简单同族被引用专利总数
85
诉讼案件数
0
法律状态/事件
权利终止
抱歉,您的浏览器不支持PDF预览,请点击链接下载PDF文件