专利数据库
统计分析
产业报告
专利数据监控
产业人才
行业动态
产业政策法规
维权援助
个人中心
详情
文本
图像
标题
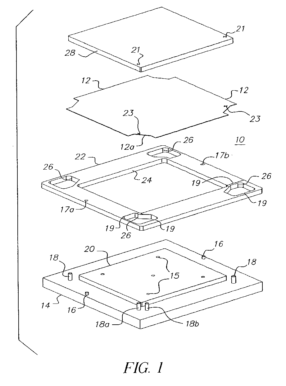
Alignment device which facilitates deposition of organic material through a deposition mask
授权日
1900-01-01
公开(公告)号
EP1276160A3
申请日
2002-06-17
公开(公告)日
2007-11-14
当前申请(专利权)人
EASTMAN KODAK COMPANY
发明人
CLARK, THOMAS KENYON, C/O EASTMAN KODAK COMPANY
简单同族
EP1276160A2 | EP1276160A3 | JP2003100456A | JP4216531B2 | KR1020030004073A | TW569306B | US6475287
简单同族成员数量
7
简单同族被引用专利总数
85
诉讼案件数
0
法律状态/事件
撤回
抱歉,您的浏览器不支持PDF预览,请点击链接下载PDF文件