专利数据库
统计分析
产业报告
专利数据监控
产业人才
行业动态
产业政策法规
维权援助
个人中心
详情
文本
图像
标题
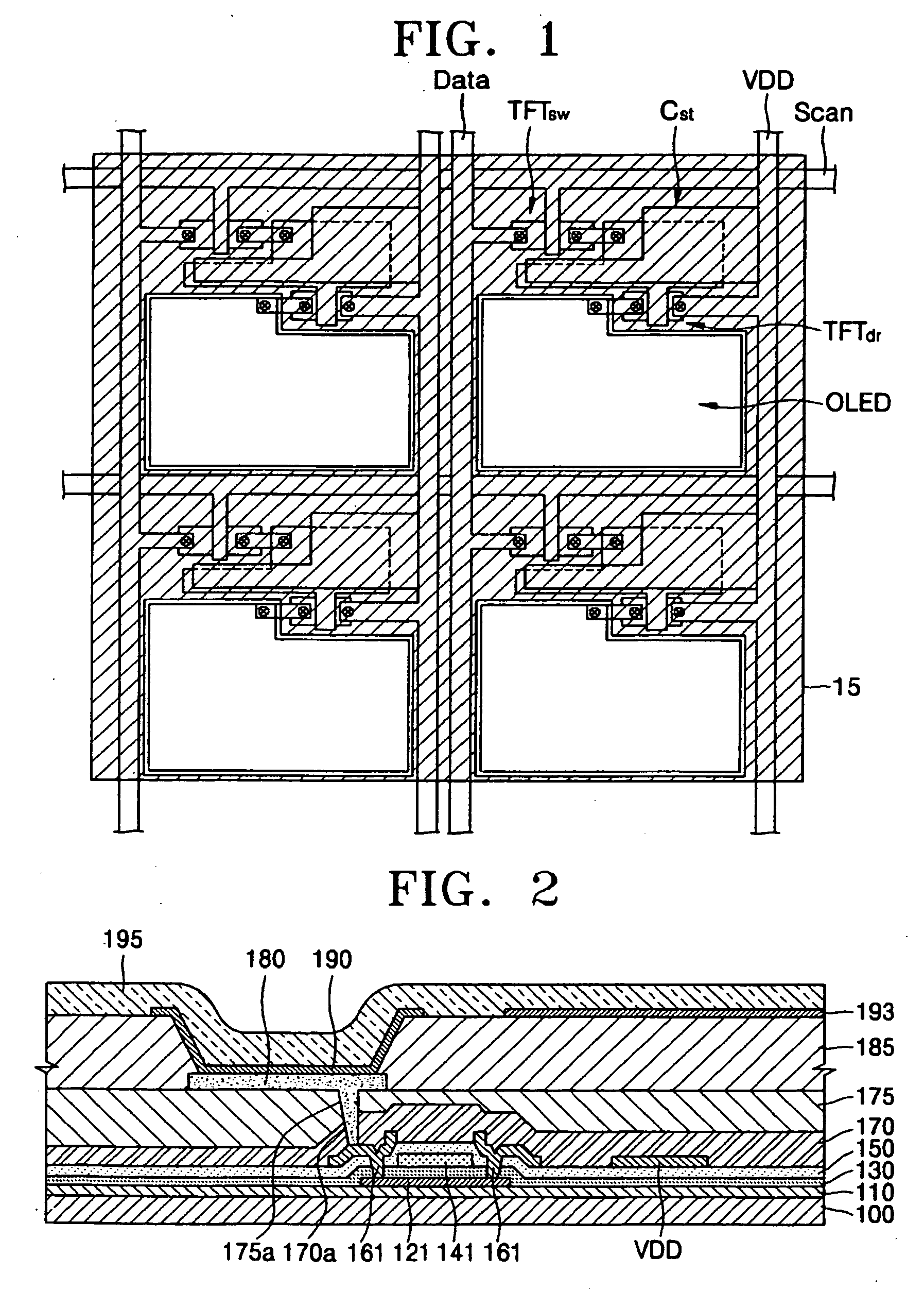
Organic electro-luminescent display device and method of manufacturing the same
授权日
2013-11-27
公开(公告)号
EP1587154B1
申请日
2005-02-09
公开(公告)日
2013-11-27
当前申请(专利权)人
SAMSUNG DISPLAY CO., LTD.
发明人
KWAK, WON-KYU LEGAL & IP TEAM,SAMSUNG SDI CO.,LTD.
简单同族
CN1658726A | CN1658726B | EP1587154A2 | EP1587154A3 | EP1587154B1 | JP2005227788A | JP4058440B2 | KR100573132B1 | KR1020050081540A | US20050179374A1 | US20080272992A1 | US7456811 | US8164545
简单同族成员数量
13
简单同族被引用专利总数
178
诉讼案件数
0
法律状态/事件
授权 | 权利转移
抱歉,您的浏览器不支持PDF预览,请点击链接下载PDF文件