专利数据库
统计分析
产业报告
专利数据监控
产业人才
行业动态
产业政策法规
维权援助
个人中心
详情
文本
图像
标题
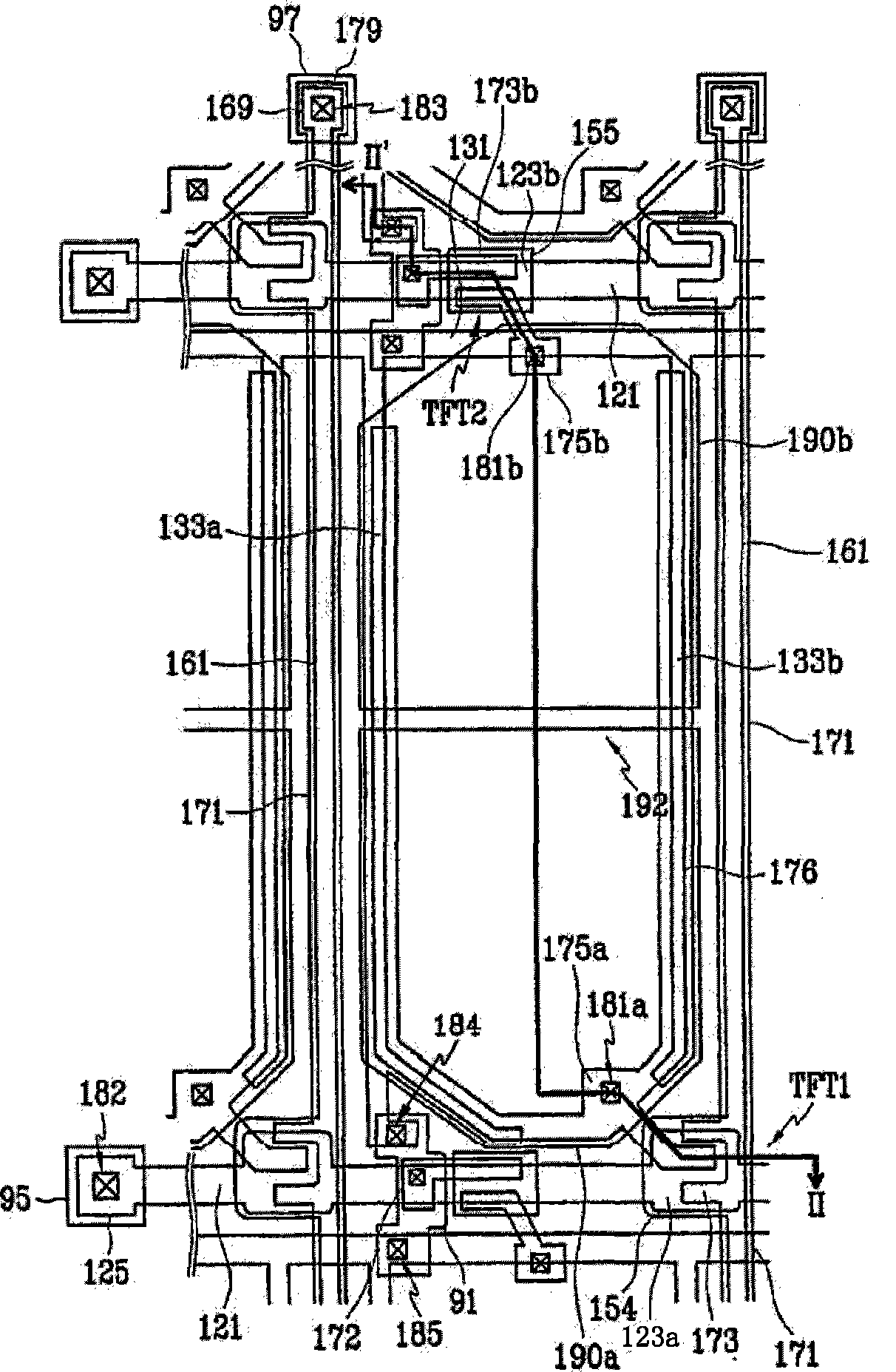
液晶显示器
授权日
2015-01-21
公开(公告)号
CN101893793B
申请日
2004-03-26
公开(公告)日
2015-01-21
当前申请(专利权)人
三星显示有限公司
发明人
金熙燮 | 金钟来 | 梁英喆 | 洪性奎
简单同族
CN101893793A | CN101893793B | CN1764865A | CN1764865B | KR100961945B1 | KR1020040084019A | TW200510836A | TWI276868B | US20070177067A1 | US20120074416A1 | US20150138482A1 | US8054398 | US8953113 | US9921447 | WO2004086129A1
简单同族成员数量
15
简单同族被引用专利总数
90
诉讼案件数
0
法律状态/事件
授权 | 权利转移
抱歉,您的浏览器不支持PDF预览,请点击链接下载PDF文件