专利数据库
统计分析
产业报告
专利数据监控
产业人才
行业动态
产业政策法规
维权援助
个人中心
详情
文本
图像
标题
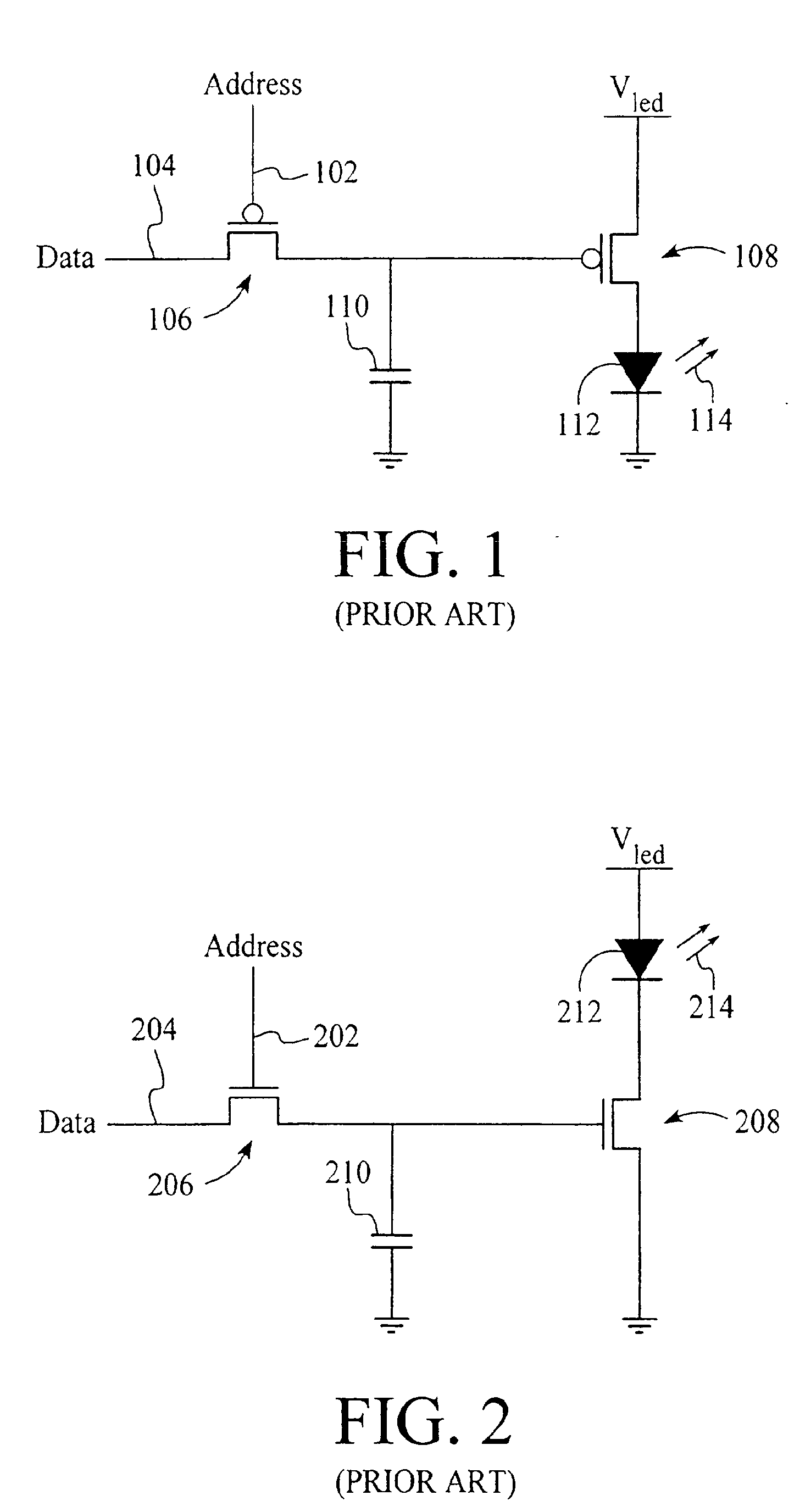
Active matrix electroluminescent display
授权日
2007-12-05
公开(公告)号
EP1096466B1
申请日
2000-10-20
公开(公告)日
2007-12-05
当前申请(专利权)人
AVAGO TECHNOLOGIES ECBU IP (SINGAPORE) PTE. LTD.
发明人
GLEASON, ROBERT E.
简单同族
DE60037299D1 | DE60037299T2 | EP1096466A1 | EP1096466B1 | JP2001147665A | JP2001147665A5 | JP4387576B2 | US6392617
简单同族成员数量
8
简单同族被引用专利总数
453
诉讼案件数
0
法律状态/事件
权利终止 | 权利转移
抱歉,您的浏览器不支持PDF预览,请点击链接下载PDF文件